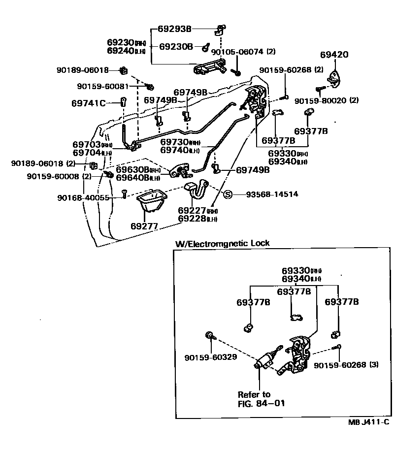
Toyota CARINA ED 251 — REAR DOOR LOCK & HANDLE

69227HANDLE, REAR DOOR INSIDE, RH
69228HANDLE, REAR DOOR INSIDE, LH
69230BCUSHION(FOR REAR DOOR OUTSIDE HANDLE)
69240HANDLE ASSY, REAR DOOR OUTSIDE, LH
69293BSNAP, REAR DOOR OUTSIDE HANDLE
69377BSNAP, REAR DOOR LOCK CONTROL ROD
69420PLATE ASSY, REAR DOOR LOCK STRIKER
69630BCONTROL ASSY, REAR DOOR LOCK REMOTE, RH
69640BCONTROL ASSY, REAR DOOR LOCK REMOTE, LH
69703LINK SUB-ASSY, REAR DOOR LOCKING CONTROL, RH
69704LINK SUB-ASSY, REAR DOOR LOCKING CONTROL, LH
69730LINK ASSY, REAR DOOR OPEN CONTROL, RH
69740LINK ASSY, REAR DOOR OPEN CONTROL, LH
69741CKNOB, REAR DOOR LOCK CONTROL
69749BCLAMP, REAR DOOR LOCK LINK
8401SWITCH & RELAY & COMPUTER
9010506074
9015960008
9015960081
9015960268
9015960329
9015980020
9016840055
9018906018
9356814514
29 parts on this diagram · 1 diagram in section
REAR DOOR LOCK & HANDLE for Toyota CARINA ED 251
This section contains 29 genuine Toyota parts for the REAR DOOR LOCK & HANDLE system of the Toyota CARINA ED 251. Key components include: HANDLE, REAR DOOR INSIDE, RH, HANDLE, REAR DOOR INSIDE, LH, HANDLE ASSY, REAR DOOR OUTSIDE, RH, CUSHION(FOR REAR DOOR OUTSIDE HANDLE), HANDLE ASSY, REAR DOOR OUTSIDE, LH.