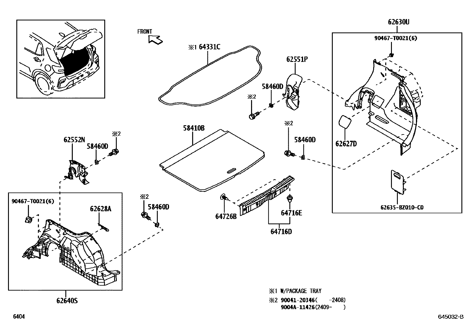
DECK BOARD & DECK TRIM COVER

58410BBOARD ASSY, DECK
BLACK,TRIM2#
58460DSTRIKER ASSY, LUGGAGE HOLD BELT
62551PCOVER, REAR SEAT SIDE, RH
BLACK,TRIM2#
62552NCOVER, REAR SEAT SIDE, LH
BLACK,TRIM2#
62627DCOVER, SIDE TRIM, RH
BLACK,TRIM2#
62628ACOVER, SIDE TRIM, LH
BLACK,TRIM2#
62630UPANEL ASSY, QUARTER TRIM, REAR RH
BLACK,TRIM2#
62640SPANEL ASSY, QUARTER TRIM, REAR LH
BLACK,TRIM2#
64331CBOARD, PACKAGE TRAY TRIM
main64331-BZ010-C0iA250..X..GCC;A251..5F..(CHL,GEN);A25#..V..(GCC,GEN,IDN,PHL);A251..CVT..(V,X)..(CHL,GCC,GEN)202104-202608
BLACK,TRIM2#
64716DCOVER, DECK TRIM, REAR
BLACK,TRIM2#
64716ECLIP(FOR DECK TRIM REAR COVER)
64726BCLIP, DECK REAR TRIM
BLACK,TRIM2#
62635BZ010C0DUST PROOF, SIDE WINDOW, NO.5
main62635-BZ010C0
9004120346
main90041-20346
9004A11426
main9004A-11426
90467T0021
main90467-T0021
16 parts on this diagram · 1 diagram in section