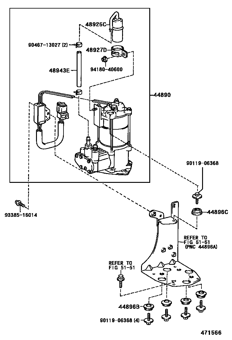
AIR BRAKE SYSTEM

44890COMPRESSOR ASSY, AIR
44896BBUSH, AIR BRAKE COMPRESSOR BRACKET, NO.1
44896CBUSH, AIR BRAKE COMPRESSOR BRACKET, NO.2
48925CFILTER, AIR BRAKE COMPRESSOR
48927DBRACKET, AIR BRAKE COMPRESSOR FILTER
48943EHOSE(FOR FILTER TO COMPRESSOR)
5151FRAME
9011906368
main90119-06368
9046713027
main90467-13027
9338516014
main93385-16014
9418040600
main94180-40600
11 parts on this diagram · 4 diagrams in section