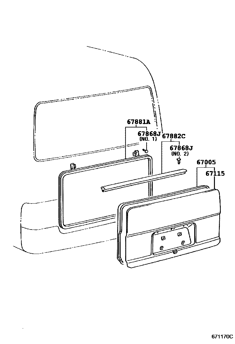
BACK DOOR PANEL & GLASS

67005PANEL SUB-ASSY, BACK DOOR
main67008-36010iHZB40..4FC..IV5;HZB40,50..(26S,29S)..CBU;BB40,5#,HDB5#,HZB41..(15S,20S,26S,29S)..(CBU,IV5)199301-199907
67115PANEL, BACK DOOR, OUTER
67868JRETAINER, DOOR WEATHERSTRIP
main67867-12150×17iXZB40,50..STD..5F; XZB40..6FC..IV5;XZB50..29S..WC..(5F,6FC);XZB4#,51,56..(09S,26S,29S)..(5F,6FC)..CBU; XZB50..29S..WC..(5F,6FC)..CBU;BZB40,50,XZB40,51..(26S,29S)..(5F,6FC)..CBU200408-201501
main67868-30030-01×4iBB58..WC;HZB50..GX..4FC;HZB50..29S..5F..CBU;BB40,HDB5#,HZB4#..(DX,EX,GX,LX,SULNG)..CBU; BB58..WOC;BB46,HZB56;HZB50..IV5;HZB40..5F..IV5199301-199907
main67868-30040×17iBB58..WC;BB40,HDB5#,HZB4#,50..(DX,EX,GX,LX,SULNG)..CBU; HZB40..4FC..IV5199705-199907
67881AWEATHERSTRIP, BACK DOOR
main67881-36010iHZB40..4FC..IV5;HZB40,50..(26S,29S)..CBU;BB40,5#,HDB5#,HZB41..(15S,20S,26S,29S)..(CBU,IV5)199301-199907
main67881-36030iBB58..WOC;HZB40..4FC..IV5; HZB40..5F;HZB50..29S;BB58,HZB40..LX..4FC..CBU;BB4#,HDB5#,HZB41,56..(DX,EX,GX,LX,SULNG)..CBU199705-199907
67882CWEATHERSTRIP, BACK DOOR, NO.2
main67882-36020iHZB40..4FC..IV5; HZB40..5F..IV5;HZB50..29S..5F;HZB50..4FC..IV5;HZB50..(DX,GX)..4FC;HZB40..(DX,LX)..CBU;BB58,HDB5#,HZB41,46,56..CBU,IV5; HZB50..LX..4FC..CBU199907-200408
5 parts on this diagram · 6 diagrams in section