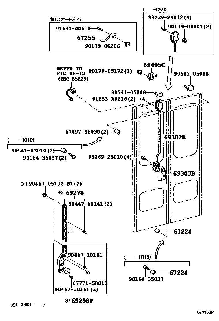
CENTER DOOR LOCK & HINGE

67224GUM, DOOR CUSHION, NO.2
67255STOPPER, CENTER INSIDE LOCK
69278BEZEL, DOOR INSIDE HANDLE, NO.1 LH
MD.CHARCOAL,TRIM1#
69298FBEZEL, DOOR INSIDE HANDLE, NO.2 LH
MD.CHARCOAL,TRIM1#
69302BLOCK SUB-ASSY, CENTER DOOR INSIDE HANDLE
main69302-36011-B0iBZB50,HZB40..26S,39S,49S;BB58,BZB40,HDB50,HZB46,5#..(09S,29S,39S,49S)..(DX,LX,STD)200108-200408
MD.CHARCOAL,TRIM1#
MD.CHARCOAL,TRIM1#
69303BHANDLE SUB-ASSY, CENTER DOOR LOCK, OUTSIDE
main69303-36010iHZB40,50..5F;BB4#,55,HDB50,HZB56;HZB50..(GX,STD)..4FC; HZB40,50..LX..4FC199505-199705
69405CSTOPPER SUB-ASSY, CENTER DOOR INSIDE LOOK
main69405-90B00iHZB40,50..5F;BB4#,55,HDB50,HZB56;HZB50..(GX,STD)..4FC; HZB40,50..LX..4FC199505-199705
8512AUTOMATIC DOOR
6777158010WEATHERSTRIP, BACK DOOR TRIM, RH
main67771-58010
6789736030SPACER, FRONT DOOR WEATHERSTRIP, RH
main67897-36030
9016435037
main90164-35037
9017904001
main90179-04001
9017905172
main90179-05172
9017906266
main90179-06266
9046705102B1
main90467-05102B1
9046710161
main90467-10161
9054103010
main90541-03010
9054105008
main90541-05008
9163140614
main91631-40614
91653A0616
main91653-A0616
9323924012
main93239-24012
9326925010
main93269-25010
22 parts on this diagram · 3 diagrams in section