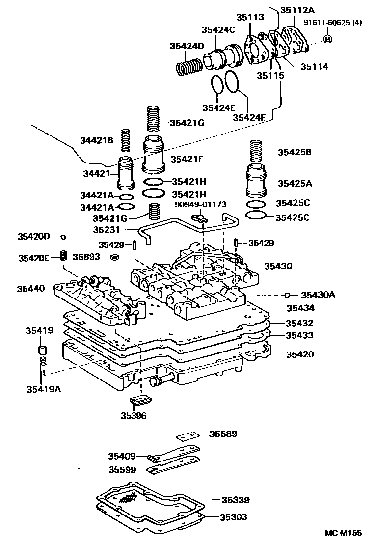
VALVE BODY & OIL STRAINER (ATM)

34421PISTON, OVERDRIVE BRAKE ACCUMULATOR
34421ARING, O (FOR OVERDRIVE BRAKE ACCUMULATOR PISTON)
34421BSPRING (FOR OVERDRIVE BRAKE ACCUMULATOR PISTON)
35112ACOVER, FRONT CLUTCH ACCUMULATOR
35113GASKET, FRONT CLUTCH ACCUMLATOR, NO.2
35114GASKET, FRONT CLUTCH ACCUMLATOR, NO.1
35115PLATE, FRONT CLUTCH ACCUMULATOR
35231TUBE, LOCK UP SIGNAL VALVE APPLY
35303STRAINER SUB-ASSY, OIL
35339GASKET, OIL STRAINER
35396STRAINER, THROTTLE OIL
35409SPRING SUB-ASSY, MANUAL DETENT
35419VALVE, CHECK, NO.1
35419ASPRING, COMPRESSION (FOR CHECK VALVE)
35420BODY ASSY, LOWER VALVE
35420DBALL (FOR LOWER VALVE BODY)
35420ESPRING (FOR LOWER VALVE BODY)
35421FPISTON, ACCUMULATOR, NO.2
35421GSPRING, COMPRESSION (FOR ACCUMULATOR PISTON NO.2)
35421HRING (FOR ACCUMULATOR PISTON NO.2)
35424CPISTON, C-1 ACCUMULATOR
35424DSPRING, COMPRESSION (FOR C-1 ACCUMULATOR PISTON)
35424ERING, O (FOR C-1 ACCUMULATOR PISTON)
35425APISTON, C-2 ACCUMULATOR
35425BSPRING, COMPRESSION (FOR C-2 ACCUMULATOR PISTON)
35425CRING, O (FOR C-2 ACCUMULATOR PISTON)
35429TUBE, LINE PRESSURE
35430BODY ASSY, REAR UPPER VALVE
35430ABALL (FOR REAR UPPER VALVE BODY)
35432PLATE, VALVE BODY, NO.1
35433GASKET, VALVE BODY, NO.1
35434GASKET, VALVE BODY, NO.2
35440BODY ASSY, FRONT UPPER VALVE
35589SPACER, MANUAL DETENT SPRING
35599COVER, MANUAL DETENT SPRING
35893GASKET, CENTER SUPPORT APPLY
9094901173
main90949-01173
9161160625
main91611-60625
38 parts on this diagram · 12 diagrams in section