E
EPC Data

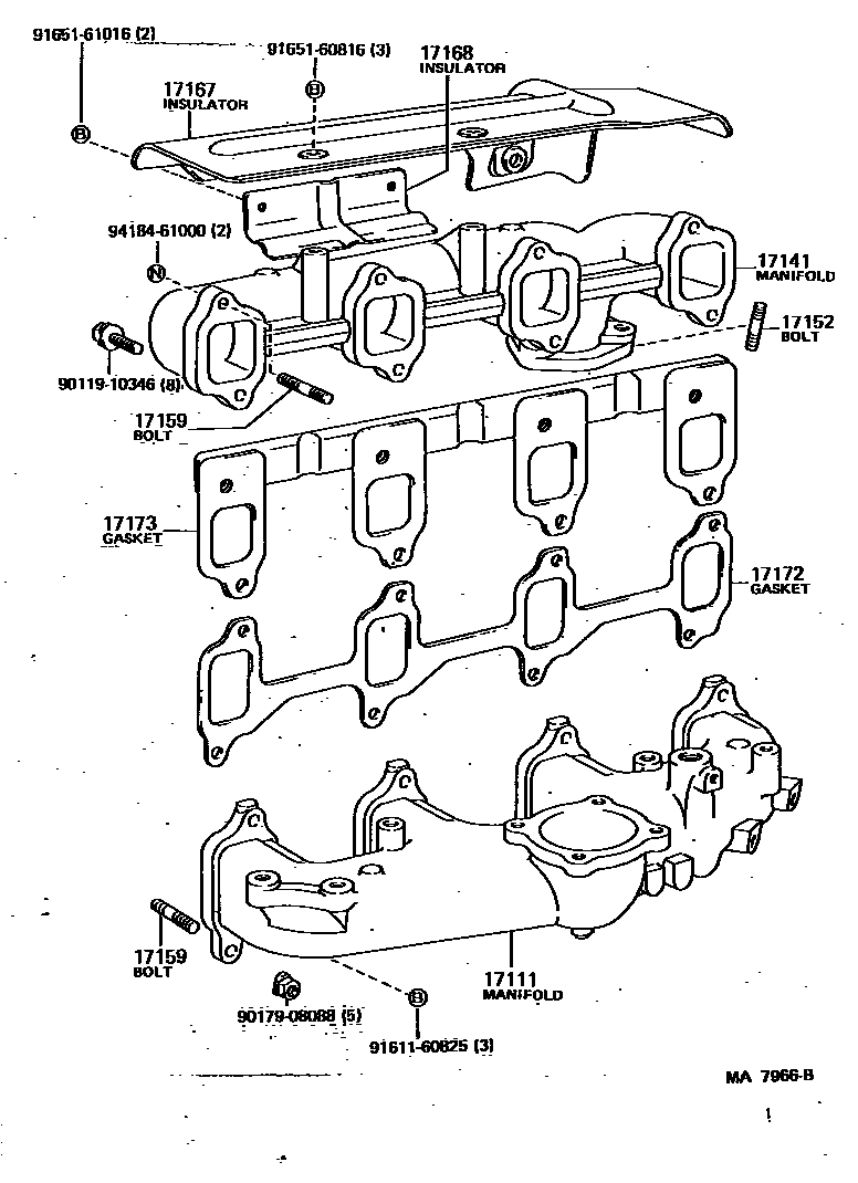
MANIFOLD

Parts diagram
17111MANIFOLD, INTAKE
main17101-54050i198510-198708
main17101-54080i198708-198908
main17101-54081i198908-199001
main17111-56130i198411-199001
main17111-58011i198510-199001
17141MANIFOLD, EXHAUST
main17141-54022i198510-198708
main17141-54050i198708-199001
main17141-56050i198411-198808
main17141-56060i198808-199001
main17141-58011i198510-199001
17152BOLT, STUD(FOR MANIFOLD TO EXHAUST PIPE)
main90116-10056×3i198411-198705
main90116-10087×3i198705-199001
main90116-10088×3i198510-199001
17159BOLT, STUD(FOR MANIFOLD TO CYLINDER HEAD)
main90116-08220×2i198510-199001
INTAKE MANIFOLD SIDE
main90116-10061×4i198510-198706
EXHAUST MANIFOLD SIDE
main90116-10098×2i198411-199001
EXHAUST MANIFOLD
main90116-10140×4i198706-199001
EXHAUST MANIFOLD SIDE
main92132-60825×5i198411-199001
INTAKE MANIFOLD
17167INSULATOR, EXHAUST MANIFOLD HEAT, NO.1
main17107-54011i198510-199001
main17167-56022i198411-198708
main17167-56023i198708-198808
main17167-56040i198808-199001
main17167-58011i198510-199001
17168INSULATOR, EXHAUST MANIFOLD HEAT, NO.2
main17166-54010i198510-199001
main17168-56010i198808-199001
main17168-58021i198411-198708
main17168-58022i198708-198808
main17168-58040i198510-199001
17172GASKET, MANIFOLD TO CYLINDER HEAD
main17171-56010i198808-199001
main17172-56022i198411-198808
17173GASKET, EXHAUST MANIFOLD TO HEAD
main17173-54020i198510-199001
main17173-56040i198808-199001
main17173-58010i198808-199001
9011910346
9017908088
9161160825
9165160816
9165161016
9418461000

14 parts on this diagram · 6 diagrams in section

MANIFOLD — Toyota Parts Diagram with OEM Numbers & Prices | EPC Data