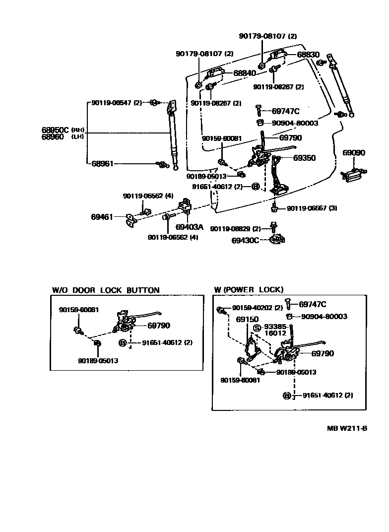
BACK DOOR LOCK & HINGE

68830HINGE ASSY, BACK DOOR, RH
68840HINGE ASSY, BACK DOOR, LH
main68801-87004iCR2#,3#,KR27,YR2#..B,D,G; CR21,22,27,28,30,31,36,37,KR27,YR2#,30..E,F,N,Q,Z199201-199610
68950CSTAY ASSY, BACK DOOR, RH
main68950-80011iCR27,YR25..D..SRF..VSG;CR21,28,36,KR27,YR21..(B,D)..(MRF,SRF)..(05S,06S,08S); CR27..VSP..V1;CR36,KR27..4D..(02S,03S)..V1199201-199309
main68950-80017iCR27,KR27..VSP..V2;CR27..ATM..D..HRF..4D;CR36,YR25..MTM..HRF..4D; KR27..D..HRF..VSG;CR36..ATM..HRF..4D;YR25..HRF..5D..06S;CR27,36..D..HRF..5D;CR27..MTM..HRF..4D..05S;CR22,29,31,38,YR25..(B,D,G)..HRF..(05S,08S)199309-199610
68960STAY ASSY, BACK DOOR, LH
main68960-29765iCR27,YR25..D..SRF..VSG;CR21,28,36,KR27,YR21..(B,D)..(MRF,SRF)..(05S,06S,08S); CR27..VSP..V1;CR36,KR27..4D..(02S,03S)..V1199201-199309
main68960-29825iCR27,KR27..VSP..V2;CR36..MTM..HRF..4D; CR36..D..5D;CR36..ATM..HRF..4D;CR27,KR27..D..HRF..VSG;CR21,28,30,37,YR25..(B,D)..HRF199201-199309
68961BOLT, BACK DOOR STAY
69090HANDLE ASSY, BACK DOOR, OUTSIDE
69150ACTUATOR ASSY, BACK DOOR LOCK
69350LOCK ASSY, BACK DOOR
69403ASTOPPER SUB-ASSY, BACK DOOR SIDE FEMALE, RH
69430CSTRIKER ASSY, BACK DOOR LOCK
69461STOPPER, BACK DOOR SIDE MALE, RH
69747CBUTTON, DOOR LOCKING(FOR BACK DOOR)
main69743-87001iCR27..5D;CR36..ATM;KR27..VSG;CR36..MTM..5D;CR27..N..HRF..4D;CR27..SRF..VSG..4D;YR25..HRF..5D..06S;CR27..MTM..HRF..4D..05S;CR22,31,YR2#,30..03S,05S,07S,08S;CR29,36,YR25..MTM..(B,D)..(MRF,SRF)..(05S,06S); CR29,38..HRF; CR36..4D..02S;CR27,KR27..VSP;CR27..ATM..D..HRF..4D;CR36,YR25..MTM..HRF..4D199309-199610
69790CONTROL ASSY, BACK DOOR LOCK
main69709-28010iCR21,28,30,37,YR21,30..D,E,F,Q,Z; CR27..VSP;CR36..MTM..HRF..4D;CR36,KR27..4D..(02S,03S); CR28,37..B199201-199309
9011906547
main90119-06547
9011906557
main90119-06557
9011906562
main90119-06562
9011908267
main90119-08267
9011908829
main90119-08829
9015940202
main90159-40202
9015960081
main90159-60081
9017908107
main90179-08107
9018905013
main90189-05013
9090480003
main90904-80003
9165140612
main91651-40612
9338516012
main93385-16012
25 parts on this diagram · 1 diagram in section