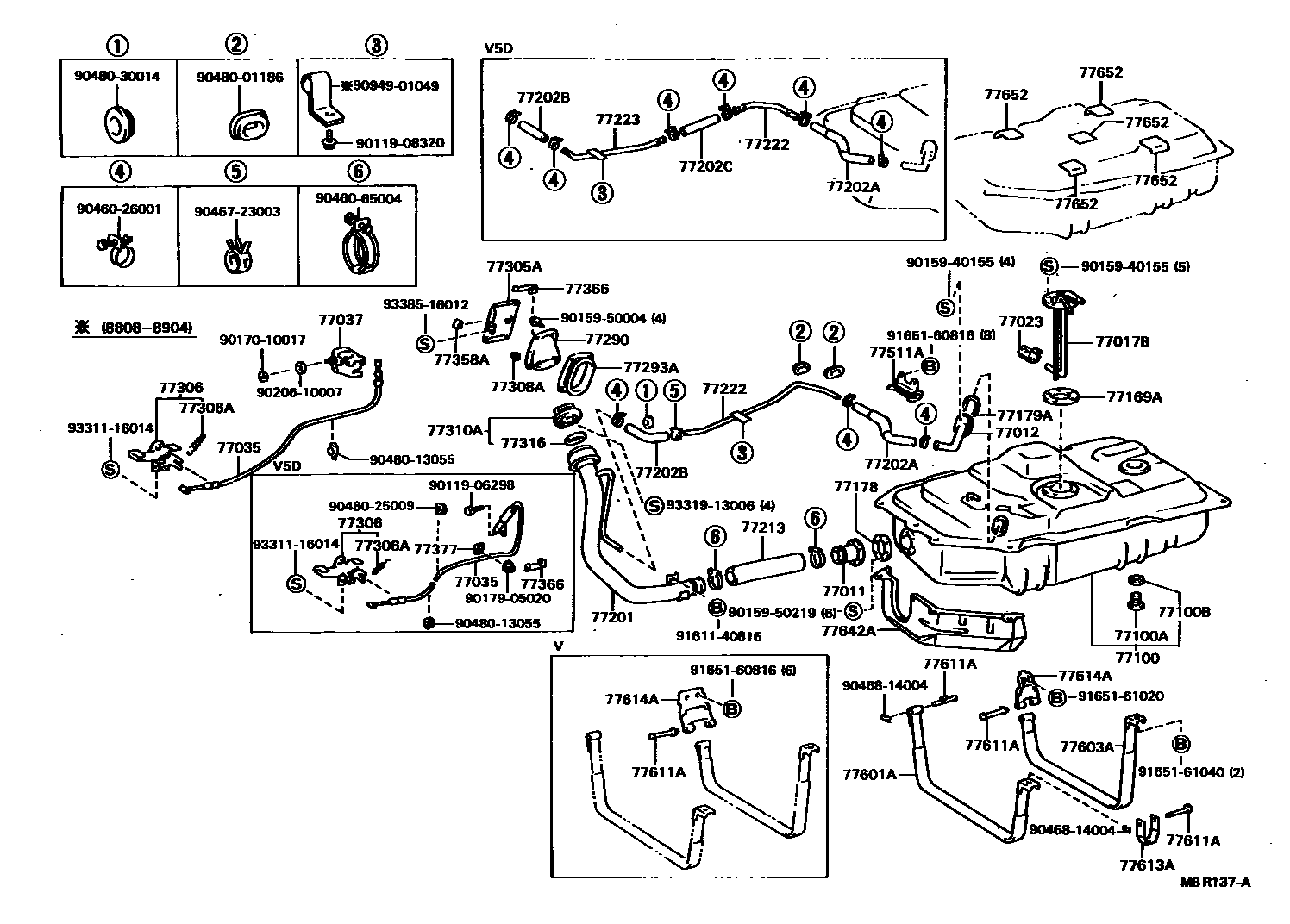
FUEL TANK & TUBE

77011PIPE SUB-ASSY, FUEL TANK FILLER, LOWER
77012TUBE SUB-ASSY, FUEL TANK BREATHER
77017BTUBE SUB-ASSY, FUEL TANK VENT
77023FILTER SUB-ASSY, FUEL SUCTION TUBE
77035CABLE SUB-ASSY, FUEL LID LOCK CONTROL
77037LOCK SUB-ASSY, FUEL FILLER OPENING LID
77100TANK ASSY, FUEL
77100APLUG(FOR FUEL TANK)
77100BGASKET(FOR FUEL TANK)
77169AGASKET, FUEL SUCTION TUBE SET
77178GASKET, FUEL TANK FILLER PIPE, LOWER
77179AGASKET, FUEL TANK BREATHER TUBE
77201PIPE SUB-ASSY, FUEL TANK INLET
77202AHOSE, FUEL, NO.1 (FOR BREATHER TUBE)
77202BHOSE, FUEL, NO.2 (FOR BREATHER TUBE)
main77279-28010iCR21,30,YR20,21,30; CR27,36..02S; CR28,37;CR27..4FC..D;CR27..V4D..N;CR36..V4D..05S;CR27..V4D..5F..05S..D; YR28,36;YR25..V4D..N198904-199201
77202CHOSE, FUEL, NO.3 (FOR BREATHER TUBE)
77213HOSE, FUEL TANK SUB INLET
77222TUBE, FUEL TANK BREATHER, NO.2
main77013-28020iCR21,30,YR20,21,30; CR27,36..02S; CR28,37;CR27..4FC..D;CR27..V4D..N;CR36..V4D..05S;CR27..V4D..5F..05S..D; YR28,36;YR25..V4D..N198904-199201
77223TUBE, FUEL TANK BREATHER, NO.3
77290SHIELD ASSY, FUEL TANK FILLER PIPE
77293ASHIELD, FUEL TANK FILLER PIPE, NO.3
77305ALID SUB-ASSY, FUEL FILLER OPENING
77306LEVER SUB-ASSY, FUEL LID LOCK OPEN
77306ASPRING, FUEL LID OPEN LEVER
77308ACUSHION(FOR FUEL INLET BOX COVER)
77310ACAP ASSY, FUEL TANK
77316GASKET, FUEL TANK CAP
77358ASTOPPER, FUEL FILLER OPENING LID
77366SPRING, FUEL FILLER OPENING LID HINGE
77377RETAINER, FUEL FILLER OPENING LID LOCK
77511ABRACKET, FUEL TANK
77601ABAND SUB-ASSY, FUEL TANK, NO.1
77603ABAND SUB-ASSY, FUEL TANK, NO.2
77611APIN (FOR FUEL TANK BAND)
REAR-RH
FRONT-RH
FRONT-LH
77613ABRACKET, FUEL TANK BAND, NO.1
77614ABAND, FUEL TANK, NO.2 RH
77642APROTECTOR, FUEL TANK, NO.2
77652CUSHION, FUEL TANK, NO.1
70 X 70
70 X 110
9011906298
main90119-06298
9011908320
main90119-08320
9015940155
main90159-40155
9015950004
main90159-50004
9015950219
main90159-50219
9017010017
main90170-10017
9017905020
main90179-05020
9020610007
main90206-10007
9046026001
main90460-26001
9046065004
main90460-65004
9046723003
main90467-23003
9046814004
main90468-14004
9048001186
main90480-01186
9048013055
main90480-13055
9048025009
main90480-25009
9048030014
main90480-30014
9094901049
main90949-01049
9161140816
main91611-40816
9165160816
main91651-60816
9165161020
main91651-61020
9165161040
main91651-61040
9331116014
main93311-16014
9331913006
main93319-13006
9338516012
main93385-16012
62 parts on this diagram · 6 diagrams in section