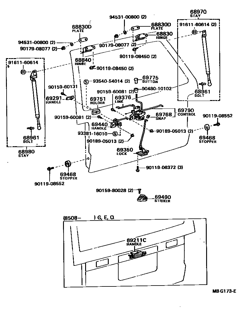
BACK DOOR LOCK & HINGE

68830HINGE ASSY, BACK DOOR, RH
W/*RW
68830DPLATE, BACK DOOR HINGE
68840HINGE ASSY, BACK DOOR, LH
68961BOLT, BACK DOOR STAY
main68961-28010×2iYR20..HRF..5F..G;YR20..HRF..(E,Q,X);YR20..MRF..(08S,09S);CR2#,3#,KR26,YR21,26,28,3#198507-198808
68970STAY ASSY, BACK DOOR, RH
COLD SPEC,W/*RW;COLD SPEC OR W/*RW
COLD SPEC OR W/*RW
COLD SPEC,W/*RW
COLD SPEC OR W/*RW; COLD SPEC,W/*RW
COLD SPEC OR W/*RW
COLD SPEC,W/*RW
COLD SPEC OR W/*RW; COLD SPEC,W/*RW
W/*RW
68980STAY ASSY, BACK DOOR
COLD SPEC,W/*RW
COLD SPEC,W/*RW
W/*RW
COLD SPEC,W/*RW;COLD SPEC OR W/*RW
main68960-29385iYR20..HRF..(E,Q);YR20..HRF..5F..G;CR2#,3#,YR21,26,28,3#..HRF; YR20..HRF..(E,Q);YR20..HRF..5F..G;CR2#,30,36,YR21,26,28,3#..HRF198508-198808
COLD SPEC OR W/*RW; COLD SPEC,W/*RW
COLD SPEC,W/*RW
COLD SPEC
69211CHANDLE, BACK DOOR OUTSIDE
main69230-87005iYR20..MRF..08S;YR20..HRF..(E,Q);YR20..HRF..5F..G;CR21,30,YR21,30..E,G,Q198508-198808
69291HANDLE ASSY, BACK DOOR INSIDE
GRAY,GRAY,TRIM1#,8#
BEIGE,BEIGE,TRIM4#
BEIGE,BEIGE,TRIM4#
BROWN,BROWN,TRIM4#
69350LOCK ASSY, BACK DOOR
main69350-87005iYR20..HRF..E;YR20..HRF..5F..G;YR20..MRF..(08S,09S);CR2#,3#,KR26,YR21,26,28,3#198608-198808
69376LINK, BACK DOOR LOCK
69440HANDLE ASSY, BACK DOOR INSIDE
69468STOPPER, BACK DOOR SIDE MALE
69490STRIKER ASSY, BACK DOOR LOCK
69751HOLDER, DOOR LOCK CONTROL KNOB
GRAY,GRAY,TRIM1#,8#
BEIGE,BEIGE,TRIM4#
BEIGE,BEIGE,TRIM4#
BEIGE,BEIGE,TRIM4#
69768SNAP, BACK DOOR LOCK CONTROL LINK
69775BUTTON, DOOR LOCKING(FOR BACK DOOR)
69790CONTROL ASSY, BACK DOOR LOCK
9011906372
main90119-06372
9011908450
main90119-08450
9011908552
main90119-08552
9015960081
main90159-60081
9015960131
main90159-60131
9015980028
main90159-80028
9017908077
main90179-08077
9018905013
main90189-05013
9048010102
main90480-10102
9161160614
main91611-60614
9338116010
main93381-16010
9354054014
main93540-54014
9453100800
main94531-00800
30 parts on this diagram · 1 diagram in section