RADIATOR GRILLE

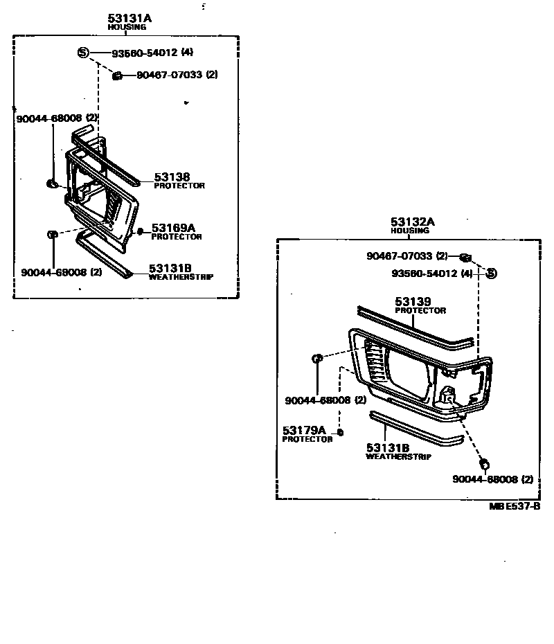
53131ADOOR, HEADLAMP, RH
TOWN ACE
TOWN ACE
MASTER ACE
WHITE WAGON
TOWN ACE
TOWN ACE
TOWN ACE
MASTER ACE
main53031-87028iYR20..MRF..08S;YR20..HRF..(E,Q);YR20..HRF..5F..G;CR21,30,YR21,30..E,G,Q198508-198808
MASTER ACE
53131BWEATHERSTRIP, HEADLAMP ORNAMENT
MASTER ACE
main53147-87004×2iYR20..HRF..(E,Q);YR20..HRF..5F..G;YR20..MRF..(08S,09S);CR21,28,30,37,YR21,28,3#198508-198808
53132ADOOR, HEADLAMP, LH
TOWN ACE
TOWN ACE
MASTER ACE
WHITE WAGON
TOWN ACE
TOWN ACE
TOWN ACE
MASTER ACE
main53032-87027iYR20..MRF..08S;YR20..HRF..(E,Q);YR20..HRF..5F..G;CR21,30,YR21,30..E,G,Q198508-198808
MASTER ACE
53138PROTECTOR, HEADLAMP DOOR, RH
main53145-87002iYR20..HRF..(E,Q);YR20..HRF..5F..G;YR20..MRF..(08S,09S);CR21,28,30,37,YR21,28,3#198508-198808
TOWN ACE
main53145-87003iYR20..HRF..(E,Q);YR20..HRF..5F..G;YR20..MRF..(08S,09S);CR21,28,30,37,YR21,28,3#198508-198808
MASTER ACE
53139PROTECTOR, HEADLAMP DOOR, LH
main53145-87002iYR20..HRF..(E,Q);YR20..HRF..5F..G;YR20..MRF..(08S,09S);CR21,28,30,YR21,28,30198508-198511
TOWN ACE
main53146-87005iYR20..HRF..(E,Q);YR20..HRF..5F..G;YR20..MRF..(08S,09S);CR21,28,30,37,YR21,28,3#198508-198808
MASTER ACE
main53146-87006iYR20..HRF..(E,Q);YR20..HRF..5F..G;YR20..MRF..(08S,09S);CR21,28,30,37,YR21,28,3#198511-198808
TOWN ACE
53169APROTECTOR, HEADLAMP DOOR, NO.2 RH
TOWN ACE
main53169-87003iYR20..HRF..(E,Q);YR20..HRF..5F..G;YR20..MRF..(08S,09S);CR21,28,30,37,YR21,28,3#198508-198808
TOWN ACE
MASTER ACE
53179APROTECTOR, HEADLAMP DOOR, NO.2 LH
TOWN ACE
main53169-87003iYR20..HRF..(E,Q);YR20..HRF..5F..G;YR20..MRF..(08S,09S);CR21,28,30,37,YR21,28,3#198508-198808
TOWN ACE
MASTER ACE
9004468008
main90044-68008
9046707033
main90467-07033
9356054012
main93560-54012
10 parts on this diagram · 6 diagrams in section