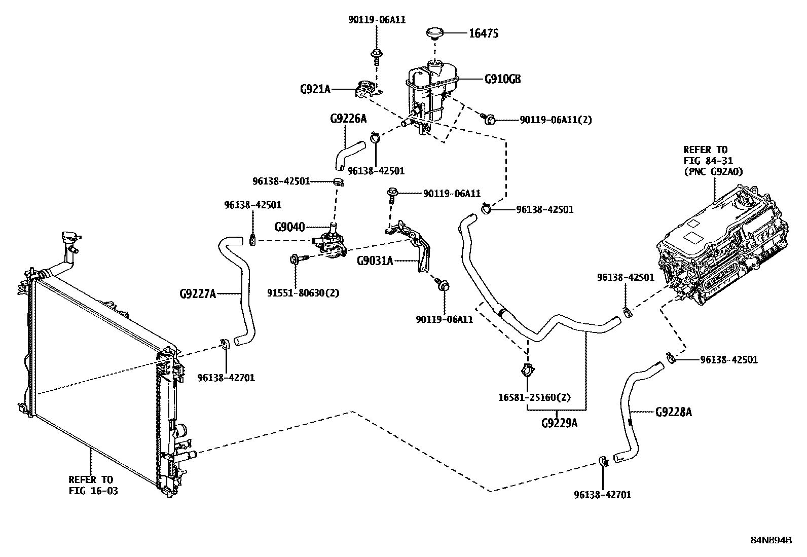
INVERTER COOLING

1603RADIATOR & WATER OUTLET
16475CAP, RESERVE TANK
8431HEV INVERTER
G9031ABRACKET SUB-ASSY, HV WATER PUMP
G9040INVERTER WATER PUMP ASSY(W/MOTOR)
G910GBTANK SUB-ASSY, INVERTER RESERVE W/O CAP
G921ABRACKET, INVERTER RESERVE TANK, NO.1
G9227AHOSE, INVERTER COOLING, NO.3
G9229AHOSE, INVERTER COOLING, NO.5
1658125160CLAMP, HOSE(FOR WATER HOSE)
main16581-25160
9011906A11
main90119-06A11
9155180630
main91551-80630
9613842501
main96138-42501
9613842701
main96138-42701
16 parts on this diagram · 3 diagrams in section