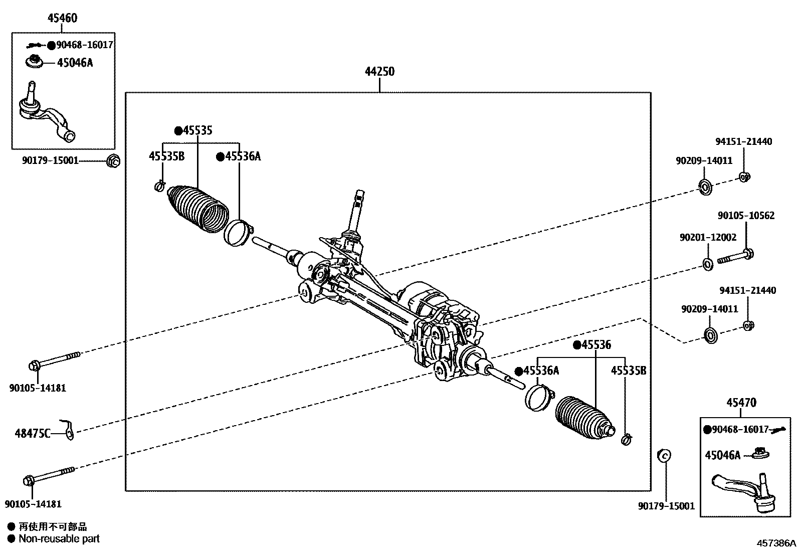
FRONT STEERING GEAR & LINK

44250GEAR ASSY, POWER STEERING(FOR RACK & PINION)
45046ANUT, CASTLE(FOR TIE ROD END)
45460ROD ASSY, TIE, RH
45470ROD ASSY, TIE, LH
45535BOOT, STEERING RACK, NO.1
45535BCLIP(FOR STEERING RACK BOOT)
45536BOOT, STEERING RACK, NO.2
45536ACLAMP(FOR STEERING RACK BOOT NO.2)
48475CPLATE, DISTANCE
9010510562
main90105-10562
9010514181
main90105-14181
9017915001
main90179-15001
9020112002
main90201-12002
9020914011
main90209-14011
9046816017
main90468-16017
9415121440
main94151-21440
16 parts on this diagram · 1 diagram in section