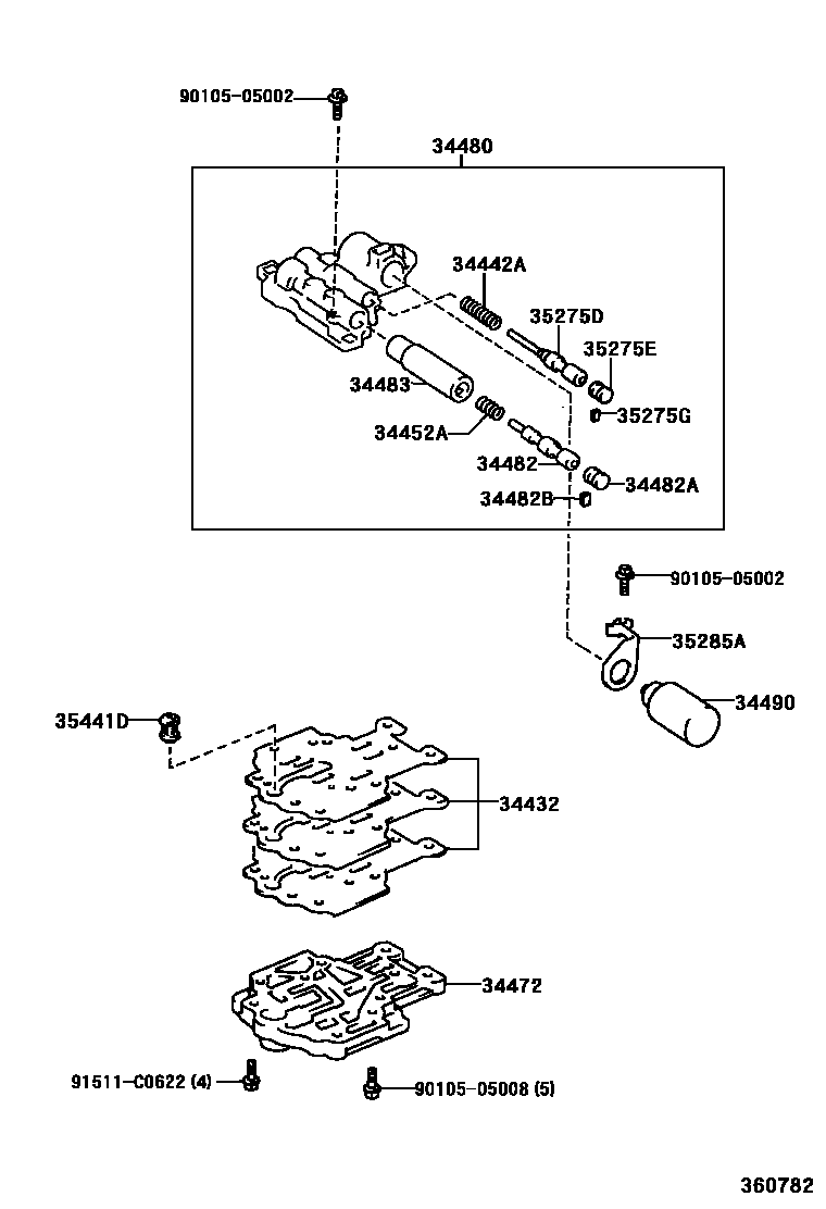
TRANSFER VALVE BODY & VALVE LEVER

34432PLATE, TRANSFER VALVE BODY, UPPER
34442ASPRING, COMPRESSION(FOR LOW-HIGH SHIFT VALVE)
34452ASPRING (FOR TRANSFER DIRECT CLUTCH MODULATOR VALVE)
34472COVER, TRANSFER VALVE BODY
34480BODY ASSY, TRANSFER UPPER VALVE
34482VALVE, CENTER DIFFERENTIAL CLUTCH CONTROL
34482ASPRING(FOR CENTER DIFFERENTIAL CONTROL VALVE)
34482BSEAT(FOR CENTER DIFFERENTIAL CLUTCH CONTROL VALVE PLUG)
34483SLEEVE, CENTER DIFFERENTIAL CLUTCH CONTROL VALVE
34490SOLENOID ASSY, TRANSFER CONTROL
35275DVALVE, TRANSFER SOLENOID MODULATOR
35275EPLUG (FOR TRANSFER SOLENOID MODULATOR VALVE)
35275GSEAT (FOR TRANSFER SOLENOID MODULATOR VALVE PLUG)
35285APLATE, SOLENOID LOCK
35441DSTRAINER, CENTER DIFFERENTIAL LOCK CLUTCH CONTROL OIL
9010505002
main90105-05002
9010505008
main90105-05008
91511C0622
main91511-C0622
18 parts on this diagram · 1 diagram in section