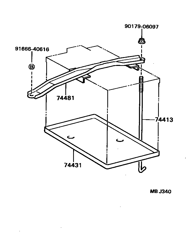
BATTERY CARRIER

74413BOLT, BATTERY CLAMP
74431TRAY, BATTERY
NS40ZAL-MFB,188X127
NS60L-MFB
NS40ZAL-MFB,201X133
74481CLAMP, BATTERY HOLD DOWN
9017906097
main90179-06097
9166640616
main91666-40616
5 parts on this diagram · 1 diagram in section

5 parts on this diagram · 1 diagram in section