E
EPC Data
Pricing
Sign In
Home
›
JP
›
231140
›
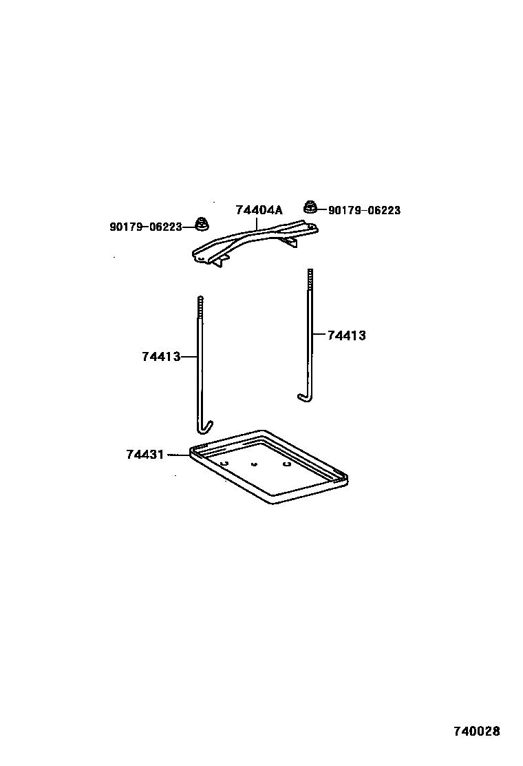
BATTERY CARRIER
BATTERY CARRIER
74404A
CLAMP SUB-ASSY, BATTERY
main
74404-20490
i
AT21#,ST215
199608
main
74404-32130
i
CT21#
199608
74413
BOLT, BATTERY CLAMP
main
74451-14010
i
CT21#
199608-200008
main
74451-32070
i
AT21#,ST215; CT21#
199608-200008
main
74451-32071
×2
i
AT21#,CT21#,ST215
200008
74431
TRAY, BATTERY
main
74431-20080
i
AT210,211;ST215..5F;AT212..4FC
199608
main
74431-20090
i
AT21#,ST215
199608
main
74431-20100
i
CT21#
199608
9017906223
main
90179-06223
4 parts on this diagram · 1 diagram in section
BATTERY CARRIER — Toyota Parts Diagram with OEM Numbers & Prices | EPC Data