PARKING BRAKE & CABLE

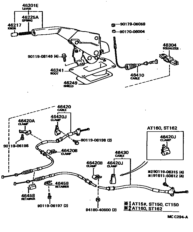
46201ELEVER SUB-ASSY, PARKING BRAKE
SHADOW GRAY,GRAY,TRIM1#; SHADOW GRAY,SE-CUSTOM,MY ROAD,GRAY,TRIM1#
BLUE,BLUE,TRIM8#; BLUE,SE-CUSTOM,MY ROAD,BLUE,TRIM8#
DARK BEIGE,DARK BEIGE,TRIM4#
SEPIA BROWN,BROWN,TRIM4#; SEPIA BROWN,SE-CUSTOM MY ROAD,BROWN,TRIM4#
MEDIUM GRAY,MEDIUM GRAY,TRIM1#
DARK BLUE,DARK BLUE,TRIM8#
DARK BLUE,BLUE,TRIM8#
DARK BEIGE,DARK BEIGE,TRIM4#
MEDIUM GRAY,MEDIUM GRAY,TRIM1#
SHADOW GRAY,GRAY,TRIM1#
BLUE,BLUE,TRIM8#
DARK BEIGE,DARK BEIGE,TRIM4#
MEDIUM GRAY,MY ROAD,MEDIUM GRAY,TRIM1#
DARK BLUE,DARK BLUE,TRIM8#
DARK BEIGE,DARK BEIGE,TRIM4#
MEDIUM GRAY,MEDIUM GRAY,TRIM1#; MEDIUM GRAY,MY ROAD,MEDIUM GRAY,TRIM1#
DARK BLUE,DARK BLUE,TRIM8#
46217KNOB, PARKING BRAKE RELEASE ROD
DARK BEIGE,DARK BEIGE,TRIM4#
DARK BLUE,DARK BLUE,TRIM8#
SHADOW GRAY,SHADOW GRAY,TRIM1#
BLUE,BLUE,TRIM8#
SEPIA BROWN,SE-CUSTOM,SEPIA BROWN,TRIM4#; SEPIA BROWN,SEPIA BROWN,TRIM4#
DARK BEIGE,BEIGE,TRIM4#
MEDIUM GRAY,MEDIUM GRAY,TRIM1#
DARK BLUE,DARK BLUE,TRIM8#
46225ASPRING, COMPRESSION(FOR PARKING BRAKE PAWL ROD)
46241BOOT, PARKING BRAKE LEVER
46249SHIELD, PARKING BRAKE HOLE
46304EQUALIZER SUB-ASSY, PARKING BRAKE
46410CABLE ASSY, PARKING BRAKE, NO.1
46420CABLE ASSY, PARKING BRAKE, NO.2
46420ACLAMP, NO.1(FOR PARKING BRAKE CABLE)
46420BCLAMP, NO.2(FOR PARKING BRAKE CABLE)
46420JCLAMP, NO.3(FOR PARKING BRAKE CABLE)
46430CABLE ASSY, PARKING BRAKE, NO.3
46458RETAINER, CABLE
9011906197
main90119-06197
9011906198
main90119-06198
9011906315
main90119-06315
9011908146
main90119-08146
9017006004
main90170-06004
9017906058
main90179-06058
9161160612
main91611-60612
9418040600
main94180-40600
21 parts on this diagram · 2 diagrams in section