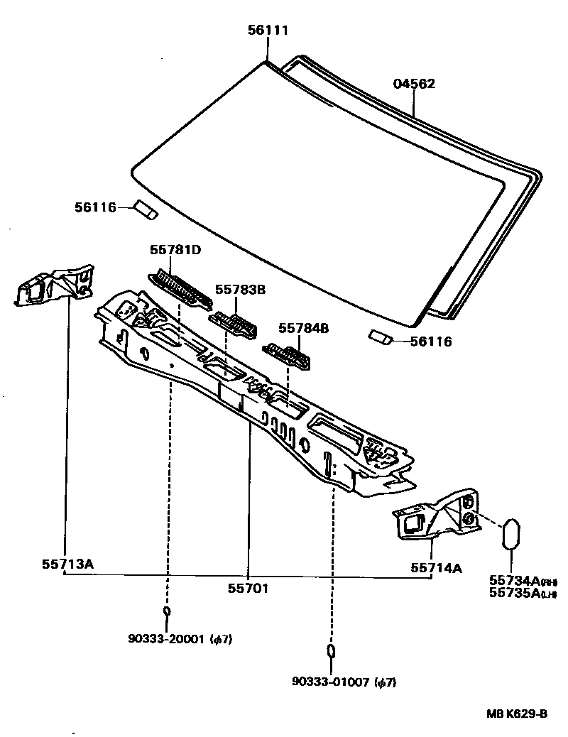
COWL PANEL & WINDSHIELD GLASS

04562DAM KIT, WINDSHIELD GLASS
55701PANEL SUB-ASSY, COWL
55713APANEL, COWL TOP SIDE, RH
55714APANEL, COWL TOP SIDE, LH
55734APLATE, WATER GUARD, RH
55735APLATE, WATER GUARD, LH
55781DLOUVER, COWL TOP VENTILATOR, RH
COLD SPEC
55783BLOUVER, COWL TOP VENTILATOR, CENTER NO.1
COLD SPEC
55784BLOUVER, COWL TOP VENTILATOR, CENTER NO.2
COLD SPEC
56111GLASS, WINDSHIELD
56116SPACER, WINDSHIELD GLASS
9033301007
main90333-01007
9033320001
main90333-20001
13 parts on this diagram · 1 diagram in section