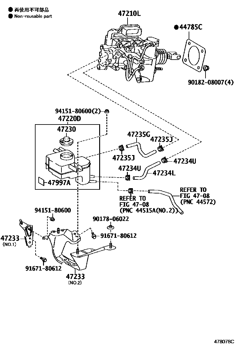
BRAKE MASTER CYLINDER

44785CGASKET, BRAKE BOOSTER
4708BRAKE TUBE & CLAMP
47210LBRAKE BOOSTER ASSY, W/MASTER CYLINDER
47220DRESERVOIR ASSY, BRAKE MASTER CYLINDER
47230CAP ASSY, BRAKE MASTER CYLINDER RESERVOIR FILLER
47234LHOSE, RESERVOIR, NO.1
47234UCLIP(FOR RESERVOIR HOSE NO.1)
47235GHOSE, RESERVOIR, NO.2
47235JCLIP(FOR RESERVOIR HOSE NO.2)
47997ALABEL, ACCUMULATOR CAUTION, NO.1
9017806022
main90178-06022
9018208007
main90182-08007
9167180612
main91671-80612
9415180600
main94151-80600
15 parts on this diagram · 1 diagram in section