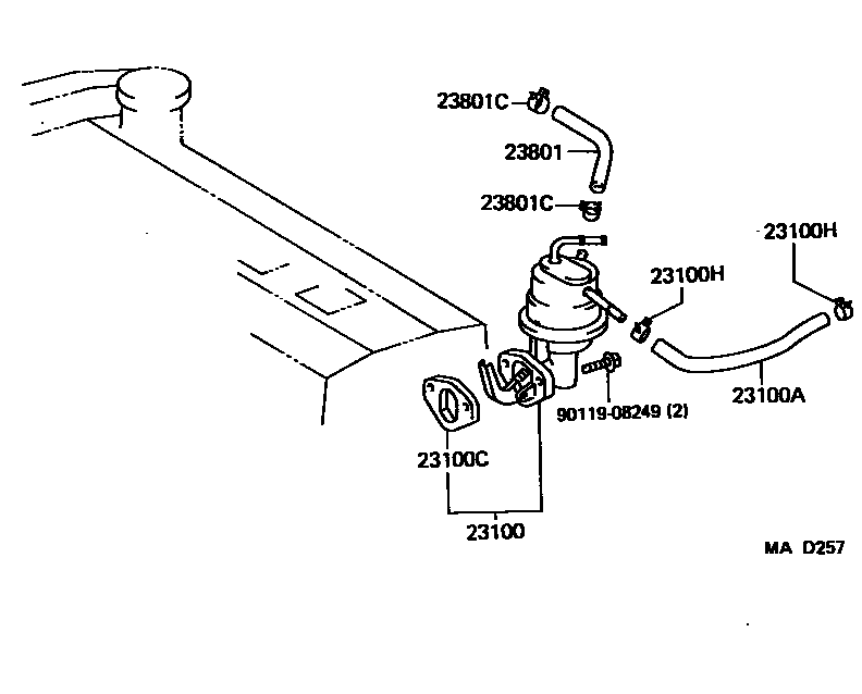
FUEL PUMP & PIPE

23100PUMP ASSY, FUEL
23100CINSULATOR, FUEL PUMP
23100HCLIP(FOR FUEL HOSE)
23801PIPE OR HOSE SUB-ASSY, CARBURETOR FUEL, NO.1
23801CCLIP(FOR CARBURETOR FUEL HOSE)
9011908249
main90119-08249
7 parts on this diagram · 2 diagrams in section