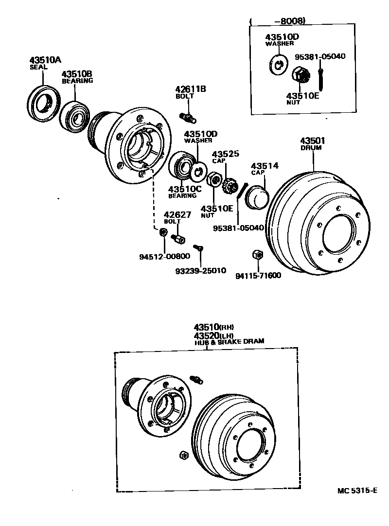
FRONT AXLE HUB

42611BBOLT, HUB (FOR FRONT AXLE)
RH
LH
42627BOLT, FRONT WHEEL CAP SET
43501DRUM SUB-ASSY, FRONT BRAKE
43510HUB AND BRAKE DRUM ASSY, FRONT AXLE, RH
43510ASEAL, OIL (FOR FRONT AXLE HUB)
43510BBEARING, TAPERED ROLLER (FOR FRONT AXLE INNER BEARING)
43510CBEARING, TAPERED ROLLER (FOR FRONT AXLE OUTER BEARING)
43510DWASHER, CLAW (FOR STEERING KNUCKLE WASHER)
43510ENUT (FOR STEERING KNUCKLE)
43514CAP, FRONT HUB GREASE
43520HUB AND BRAKE DRUM ASSY, FRONT AXLE, LH
43525CAP, FRONT WHEEL ADJUSTING LOCK
9323925010
main93239-25010
9411571600
main94115-71600
9451200800
main94512-00800
9538105040
main95381-05040
16 parts on this diagram · 1 diagram in section