E
EPC Data

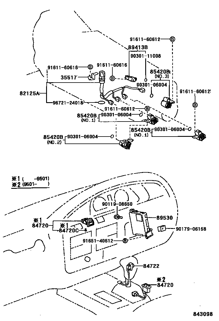
OVERDRIVE & ELECTRONIC CONTROLLED TRANSMISSION

Parts diagram
35517PLATE, TRANSMISSION WIRE LOCK
main35517-36010i199208-199409
main35517-36011i199409-200103
82125AWIRE, TRANSMISSION
main82125-36010i199208-200612
84720SWITCH ASSY, PATTERN SELECT
main84720-60040i199208-199501
main84720-60060i199501-200612
84720CBULB(FOR PATTERN SELECT SWITCH)
main84999-10320i199208-199501
84722SWITCH, TRANSMISSION CONTROL
main84722-36040-C0i199208-199901
BLACK,TRIM1#,4#
main84722-36050-C0i199208-199909
BLACK,TRIM1#,4#
85420BSOLENOID ASSY, TRANSMISSION
main85420-60020×2i199208-199901
NO.1
main85420-60030i199208-199901
NO.2
main85420-60040i199208-199901
NO.3
main85420-60050×2i199901
NO.1
main85420-60060i199901
NO.2
main85420-60070i199901
NO.3
89413BSENSOR, TRANSMISSION REVOLUTION
main89413-32010i199208-200612
89530COMPUTER ASSY, TRANSMISSION CONTROL
main89530-60070i199208-199501
main89530-60080i199208-199501
main89530-60100i199208-199501
main89530-60110i199208-199501
main89530-60140i199501-199608
main89530-60170i199501-199801
main89530-60190i199608-199801
main89530-60200i199609-199901
main89530-60210i199610-200103
9011908650
9017906158
9030106004
9030111008
9161160612
9161160616
9165140612
9672124018

16 parts on this diagram · 1 diagram in section

OVERDRIVE & ELECTRONIC CONTROLLED TRANSMISSION — Toyota Parts Diagram with OEM Numbers & Prices | EPC Data