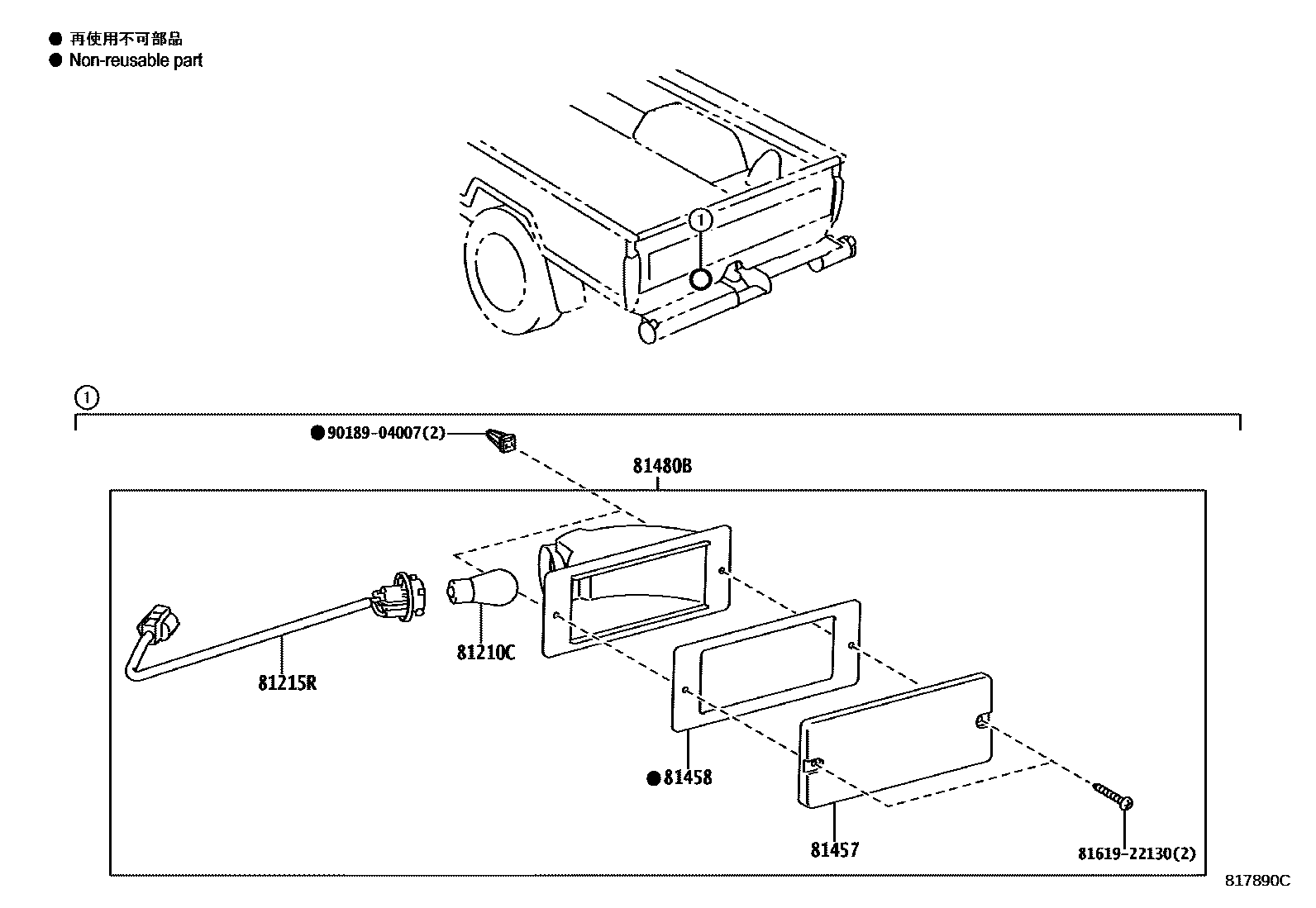
REAR FOG LAMP

81210CBULB, REAR FOG LAMP
12V 21W
81215RSOCKET & WIRE, REAR FOG LAMP
81457LENS, REAR FOG LAMP
81458PACKING, REAR FOG LAMP
81480BLAMP ASSY, REAR FOG
8161922130
main81619-22130
9018904007
main90189-04007
7 parts on this diagram · 2 diagrams in section