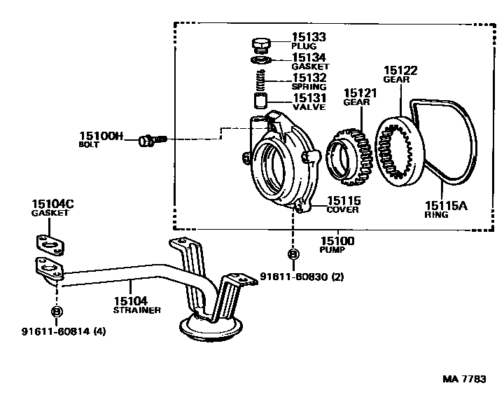
ENGINE OIL PUMP

15100PUMP ASSY, OIL
15100HBOLT, SEAL
15104STRAINER SUB-ASSY, OIL
15104CGASKET(FOR OIL STRAINER)
15115COVER, OIL PUMP
15115ARING, O(FOR OIL PUMP COVER)
15121GEAR, OIL PUMP DRIVE
15122GEAR, OIL PUMP DRIVEN
15131VALVE, OIL PUMP RELIEF
15132SPRING, OIL PUMP RELIEF VALVE
15133PLUG, OIL PUMP RELIEF VALVE
15134GASKET, OIL PUMP RELIEF VALVE
9161160814
main91611-60814
9161160830
main91611-60830
14 parts on this diagram · 3 diagrams in section