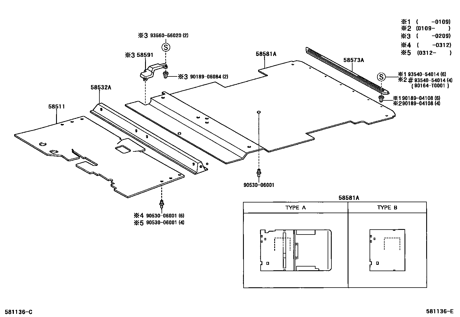
FLOOR MAT & SILENCER PAD

58511MAT, FLOOR, FRONT
BLUISH GRAY,TRIM1#
BLUISH GRAY,TRIM1#
BLUISH GRAY,TRIM1#
58532AMAT, CENTER FLOOR CROSMMBER
BLUISH GRAY,TRIM1#
BLUISH GRAY,TRIM1#
58573APLATE, REAR FLOOR MAT SUPPORT
58581AMAT, REAR FLOOR
TYPE A:REFER TO ILLUSTRATION,BLUISH GRAY,TRIM1#
TYPE A:REFER TO ILLUSTRATION & W(DUAL AIR CONDITIONER),BLUISH GRAY,TRIM1#
TYPE B:REFER TO ILLUSTRATION,BLUISH GRAY,TRIM1#
TYPE B:REFER TO ILLUSTRATION, W(DUAL AIR CONDITIONER),BLUISH GRAY,TRIM1#
BLUISH GRAY,TRIM1#
TYPE A:REFER TO ILLUSTRATION & W(DUAL AIR CONDITIONER),BLUISH GRAY,TRIM1#
TYPE B:REFER TO ILLUSTRATION,BLUISH GRAY,TRIM1#
TYPE B:REFER TO ILLUSTRATION & W(DUAL AIR CONDITIONER),BLUISH GRAY,TRIM1#
58591COVER, FLOOR CARPET
BLUISH GRAY,TRIM1#
90164T0001
main90164-T0001
9018904108
main90189-04108
9018906084
main90189-06084
9053006001
main90530-06001
9354054014
main93540-54014
9356056020
main93560-56020
11 parts on this diagram · 2 diagrams in section