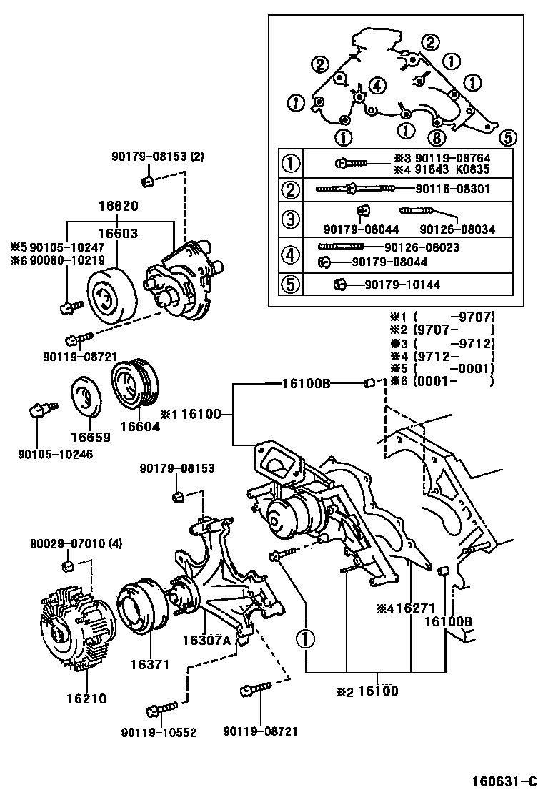
WATER PUMP

16100PUMP ASSY, ENGINE WATER
16100BPIN, RING(FOR WATER PUMP SET)
16210COUPLING ASSY, FLUID
W(TOWING PACKAGE)
TOWING PACKAGE
TOWING PACKAGE
16271GASKET, WATER PUMP
16307ABRACKET SUB-ASSY, FAN
16603PULLEY SUB-ASSY, IDLER, NO.1
16604PULLEY SUB-ASSY, IDLER, NO.2
16620TENSIONER ASSY, V-RIBBED BELT
16659PLATE, IDLER PULLEY COVER, NO.2
9002907010
main90029-07010
9008010219
main90080-10219
9010510246
main90105-10246
9010510247
main90105-10247
9011608301
main90116-08301
9011908721
main90119-08721
9011908764
main90119-08764
9011910552
main90119-10552
9012608023
main90126-08023
9012608034
main90126-08034
9017908044
main90179-08044
9017908153
main90179-08153
9017910144
main90179-10144
91643K0835
main91643-K0835
24 parts on this diagram · 1 diagram in section