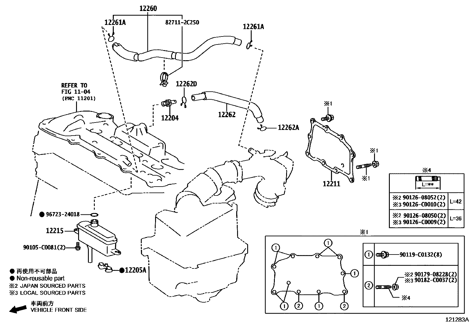
VENTILATION HOSE

1104CYLINDER HEAD
12204VALVE SUB-ASSY, VENTILATION
12205ARING, O(FOR VENTILATION CASE)
12211CASE, VENTILATION, NO.1
12215SEPARATOR, CASE
12260HOSE ASSY, VENTILATION
12261HOSE, VENTILATION
12261ACLIP OR CLAMP(FOR VENTILATION HOSE)
NO.1
NO.2
12262HOSE, VENTILATION, NO.2
12262ACLIP(FOR VENTILATION HOSE NO.2)
12262DCLIP(FOR VENTILATION HOSE NO.2)
827112C250WIRE, FUSE TO FUSE(FOR COMBUSTION HEATER)
main82711-2C250
90105C0081
main90105-C0081
90119C0132
main90119-C0132
9012608050
main90126-08050
9012608052
main90126-08052
90126C0009
main90126-C0009
90126C0010
main90126-C0010
9017908228
main90179-08228
90182C0037
main90182-C0037
9672324018
main96723-24018
21 parts on this diagram · 5 diagrams in section