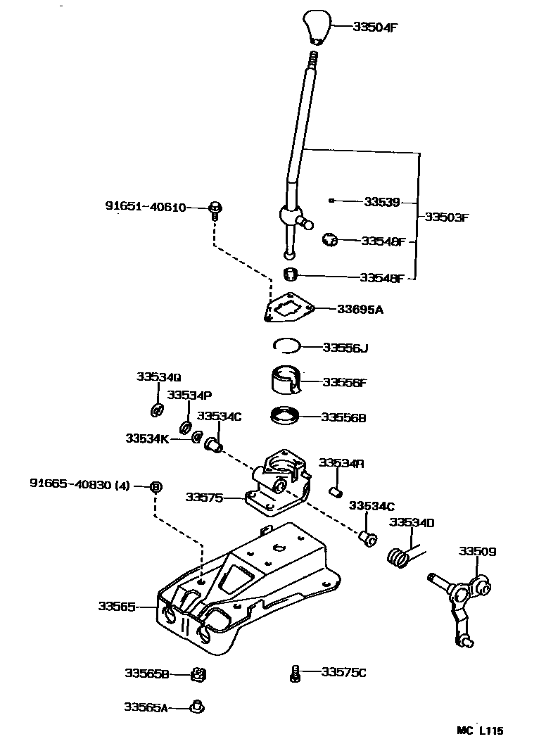
SHIFT LEVER & RETAINER

33503FLEVER SUB-ASSY, SHIFT(FOR FLOOR SHIFT)
33504FKNOB SUB-ASSY, SHIFT LEVER
DARK BLUE,TRIM8#
SHADOW GRAY,TRIM1#
SHADOW GRAY,TRIM1#
DARK BLUE,TRIM8#
GRAY,TRIM1#
BLUE,TRIM8#
33509CRANK SUB-ASSY, SELECTING BELL, NO.1
33534CBUSH (FOR SELECTING BELLCRANK NO.1)
33534DSPRING, TORSION (FOR SELECTING BELLCRANK NO.1)
33534KWASHER, WAVE (FOR SELECTING BELLCRANK NO.1)
33534PWASHER, PLATE (FOR SELECTING BELLCRANK NO.1)
33534QRING, E (FOR SELECTING BELLCRANK NO.1)
33534RCUSHION (FOR SELECTING BELLCRANK NO.1)
33539CUSHION, SHIFT LEVER ANTI-RATTLE
33548FBUSH, NO.1, SHIFT LEVER (FOR FLOOR SHIFT)
33556BBUSH (FOR TRANSMISSION SHIFT LEVER BALL SEAT)
33556FSEAT, TRANSMISSION SHIFT LEVER BALL
33556JRING, SHAFT SNAP (FOR TRANSMISSION SHIFT LEVER SEAT)
33565PLATE, CONTROL SHIFT LEVER RETAINER
33565ABUSH, NO.1 (FOR CONTROL SHIFT LEVER RETAINER PLATE)
33565BBUSH, NO.2 (FOR CONTROL SHIFT LEVER RETAINER PLATE)
33575RETAINER, CONTROL SHIFT LEVER (FOR FLOOR SHIFT)
33575CBOLT (FOR CONTROL SHIFT LEVER RETAINER)
33695ACOVER, SHIFT LEVER BALL
9165140610
main91651-40610
9166540830
main91665-40830
22 parts on this diagram · 5 diagrams in section