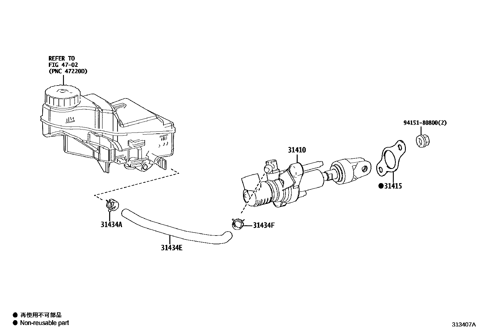
CLUTCH MASTER CYLINDER

31410CYLINDER ASSY, CLUTCH MASTER
31415GASKET, CLUTCH MASTER CYLINDER
31434ACLIP(FOR CLUTCH RESERVOIR TUBE)
31434EHOSE, CLUTCH RESERVOIR, NO.1
31434FCLIP(FOR CLUTCH RESERVOIR HOSE NO.1)
4702BRAKE MASTER CYLINDER
9415180800
main94151-80800
7 parts on this diagram · 2 diagrams in section