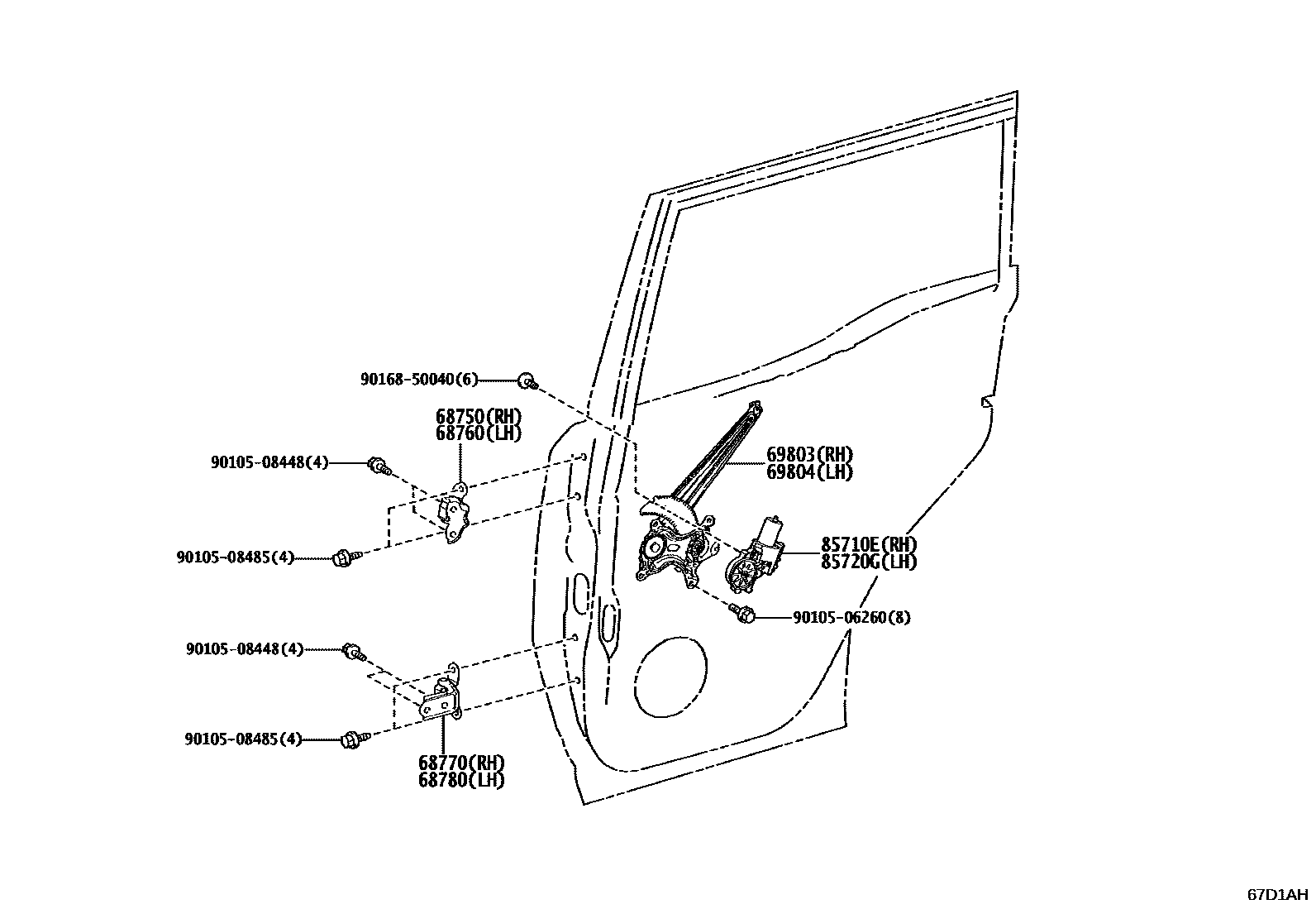
REAR DOOR WINDOW REGULATOR & HINGE

68750HINGE ASSY, REAR DOOR, UPPER RH
68760HINGE ASSY, REAR DOOR, UPPER LH
68770HINGE ASSY, REAR DOOR, LOWER RH
68780HINGE ASSY, REAR DOOR, LOWER LH
69803REGULATOR SUB-ASSY, REAR DOOR WINDOW, RH
69804REGULATOR SUB-ASSY, REAR DOOR WINDOW, LH
85710EMOTOR ASSY, POWER WINDOW REGULATOR, RH
85720GMOTOR ASSY, POWER WINDOW REGULATOR, LH
9010506260
main90105-06260
9010508448
main90105-08448
9010508485
main90105-08485
9016850040
main90168-50040
12 parts on this diagram · 1 diagram in section