E
EPC Data
Pricing
Sign In
Home
›
EU
›
6725E0
›
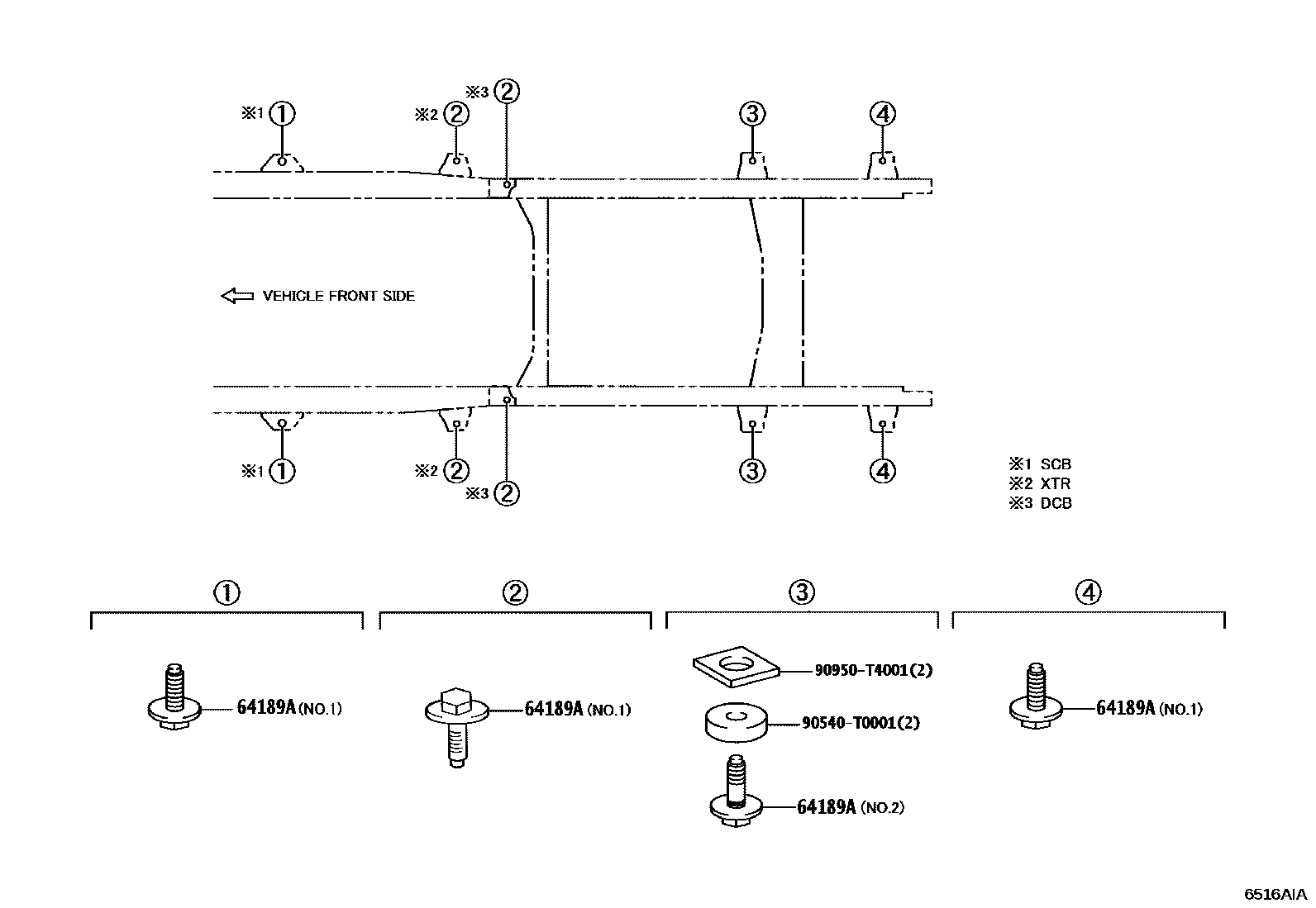
REAR BODY MOUNTING
REAR BODY MOUNTING
64189A
BOLT, REAR BODY MOUNTING
main
64189-0K010
×4
i
GUN12#,135..(DCB,XTR)..CBU
202408
NO.1
main
64189-0K020
×2
i
GUN12#,135..CBU
202408
NO.2
90540T0001
main
90540-T0001
90950T4001
main
90950-T4001
3 parts on this diagram · 1 diagram in section
REAR BODY MOUNTING — Toyota Parts Diagram with OEM Numbers & Prices | EPC Data