E
EPC Data

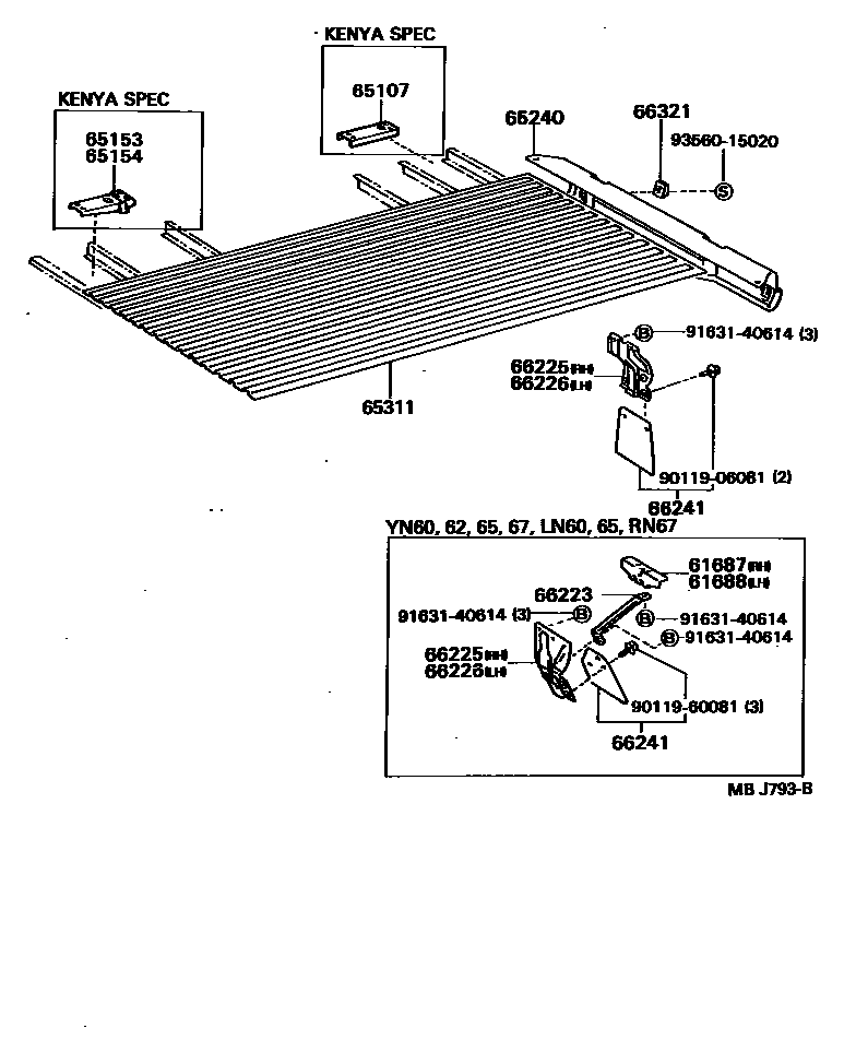
REAR BODY FLOOR & FENDER

Parts diagram
61687BRACKET, MUDGUARD, REAR RH
main61687-89101i198308-198312
main61687-89104i198312-198608
61688BRACKET, MUDGUARD, REAR LH
main61687-89101i198308-198312
main61688-89101i198312-198608
65107BRACKET SUB-ASSY, MOUNTING, NO.4
main65107-89101i198511-199807
KENYA SPEC
65153BRACKET, MOUNTING, NO.1 RH
main65153-89115i198511-199807
KENYA SPEC
65154BRACKET, MOUNTING, NO.1 LH
main65153-89115i198511-199807
KENYA SPEC
65240CROSSMEMBER, REAR BODY FLOOR, TAIL
main65240-89117i198308-198408
main65240-89118i198308-198508
main65240-89120i198501-198508
main65240-89122i198501-199807
main65240-89124i198601-199807
main65240-89125i199407-199807
main65240-95701i198308-199807
65311PANEL, FLOOR, CENTER
main65311-89116i198309-199807
main65311-89118i198808-199807
main65311-89120i198312-199807
66223STAY, REAR FENDER REAR PLATE
main66299-89101×2i198308-199807
66225SUPPORT, REAR MUDGUARD, RH
main76647-89101i198308-199807
main76647-89102i198308-199807
66226SUPPORT, REAR MUDGUARD, LH
main76648-89101i198308-199807
main76648-89102i198308-199807
66241MUDGUARD, REAR
main66241-39015×2i198308-198408
main66241-39016×2i198408-198508
main76625-39075i198308-199807
RH
main76625-39095×2i198312-199807
FR
main76626-39075i198312-199807
LH RR
66321BUMPER, GATE RUBBER
main65739-89101×2i198308-198608
W/RR BUMPER
main65739-89102×2i198308-199807
main66303-87403×4i198308-199807
9011906081
9011960081
9163140614
9356015020

16 parts on this diagram · 3 diagrams in section

REAR BODY FLOOR & FENDER — Toyota Parts Diagram with OEM Numbers & Prices | EPC Data