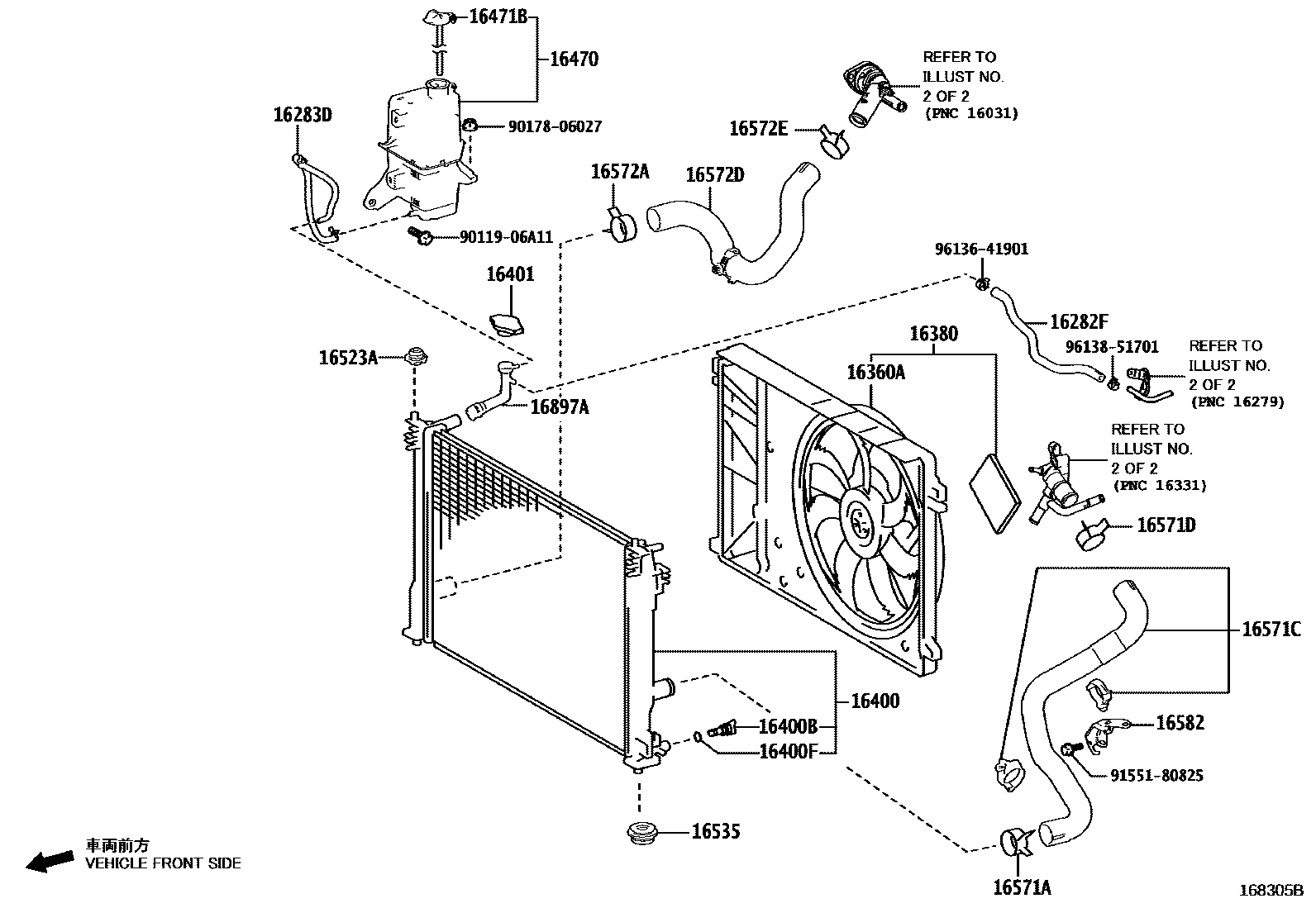
RADIATOR & WATER OUTLET

16282HOSE, WATER BY-PASS, NO.5
16282FHOSE, WATER BY-PASS, NO.5
16283HOSE, WATER BY-PASS, NO.6
UKRAINE SPEC
ARMENIA SPEC; AZB,GRZ SPEC; BELARUS SPEC; KAZAKHSTAN SPEC; RUSSIA SPEC; UKRAINE SPEC
16283DHOSE, WATER BY-PASS, NO.6
16360AFAN ASSY, W/MOTOR
16380BRACKET ASSY, FAN
16400RADIATOR ASSY
main16400-25130supersedes 16400-25190iA25AFKS..AAZA20;A25AFKS..AAZA25..GEN; A25AFKS..AAZA25..EUR202403-202506
ARMENIA SPEC; AZB,GRZ SPEC; BELARUS SPEC; CHILE SPEC; KAZAKHSTAN SPEC; KYRGYZSTAN SPEC; MOLDOVA SPEC; UKRAINE SPEC
main16400-25170supersedes 16400-25141iA25AFXS..AAZH21,26; A25AFXS..AAZH25..EUR;A25AFXS..AAZH20..EUR,GEN;A25AFXS..AAZH25..RHD..GEN; A25AFXS..AAZH25..RHD..GEN202403
SOUTH AFRICA SPEC&TOWING PACKAGE-500KG; TOWING PACKAGE-1000KG
TOWING PACKAGE-1500KG
16400BPLUG, RADIATOR DRAIN COCK
16400FPACKING(FOR RADIATOR DRAIN COCK)
16401CAP SUB-ASSY, RADIATOR
16470TANK ASSY, RADIATOR RESERVE
16471BCAP, RESERVE TANK
16523ACUSHION, RADIATOR SUPPORT
16535SUPPORT, RADIATOR, LOWER
16571ACLAMP OR CLIP, HOSE(FOR RADIATOR INLET)
16571CHOSE, RADIATOR, NO.1
main16571-25120supersedes 16571-25160iA25AFXS..AAZH20,25..EUR; A25AFXS..AAZH26;A25AFXS..AAZH20,21,25..CHI,GEN202111-202403
TOWING PACKAGE-1500KG
16571DCLIP, RADIATOR HOSE, NO.1
16572ACLAMP OR CLIP, HOSE(FOR RADIATOR OUTLET NO.1)
16572DHOSE, RADIATOR, NO.2
16572ECLIP, RADIATOR HOSE, NO.2
16582BRACKET, RADIATOR, NO.1
16897ANECK, FILLER
9011906A11
main90119-06A11
9017806027
main90178-06027
9155180825
main91551-80825
9613641901
main96136-41901
9613851701
main96138-51701
27 parts on this diagram · 12 diagrams in section