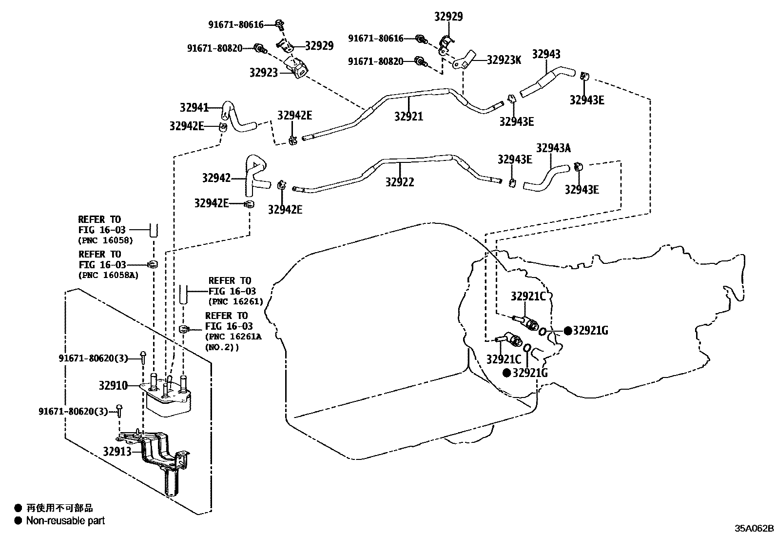
OIL COOLER & TUBE (ATM)

1603RADIATOR & WATER OUTLET
32910COOLER ASSY, OIL
32921TUBE, OIL COOLER INLET, NO.1
32921CUNION(FOR OIL COOLER TUBE)
32921GRING, O(FOR OIL COOLER TUBE UNION)
32922TUBE, OIL COOLER OUTLET, NO.1
32923CLAMP, AUTOMATIC TRANSMISSION OIL COOLER TUBE
32923KCLAMP, AUTOMATIC TRANSMISSION OIL COOLER TUBE, NO.2
32929CLAMP, FLEXIBLE HOSE, NO.2
32941HOSE, OIL COOLER INLET, NO.1
32942HOSE, OIL COOLER OUTLET, NO.1
32942ECLIP, NO.2(FOR OIL COOLER HOSE)
32943HOSE, TRANSMISSION OIL COOLER, NO.1
TYPE A:REFER ILLUST.
TYPE B:REFER ILLUST.
32943AHOSE, TRANSMISSION OIL COOLER, NO.2
TYPE A:REFER ILLUST.
TYPE B:REFER ILLUST.
32943ECLIP, NO.3(FOR OIL COOLER HOSE)
9167180616
main91671-80616
9167180620
main91671-80620
9167180820
main91671-80820
19 parts on this diagram · 2 diagrams in section