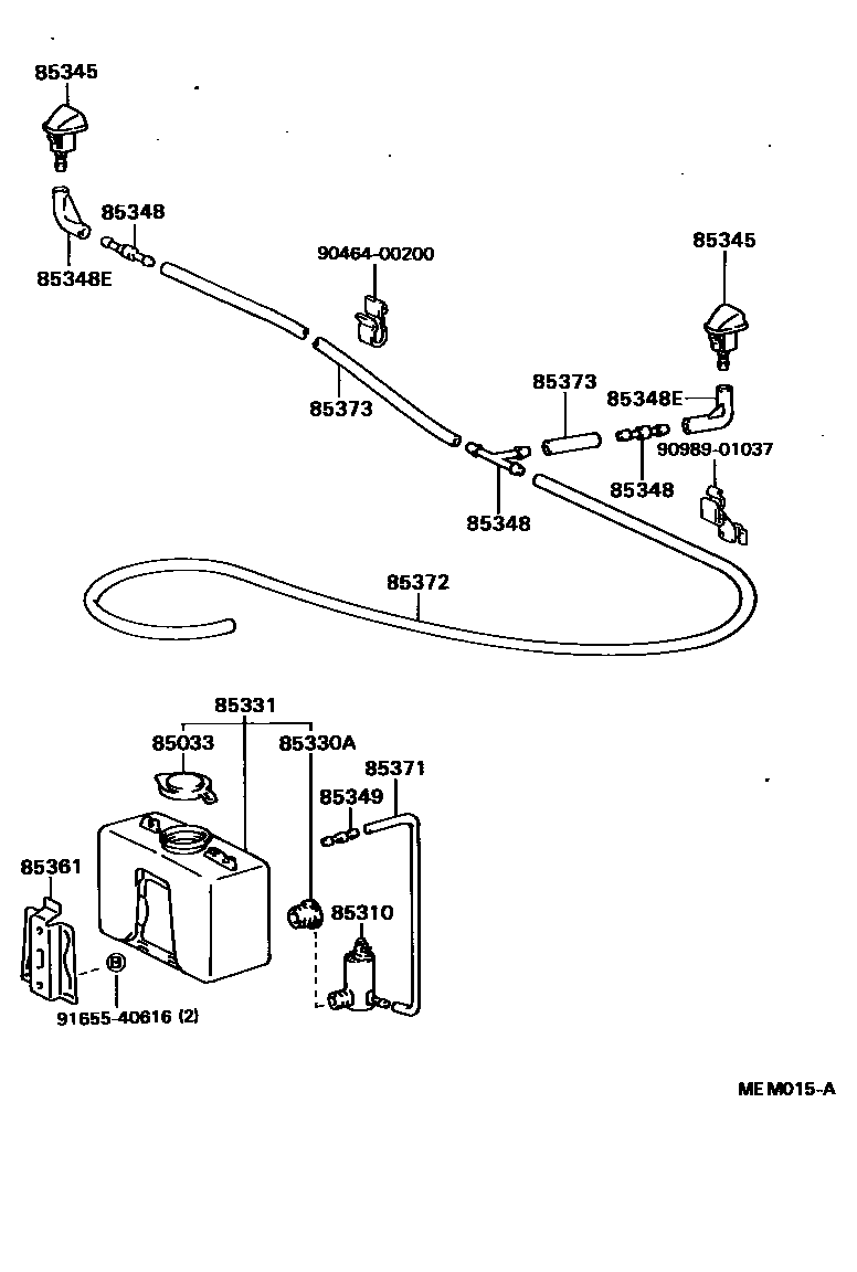
WINDSHIELD WASHER

85033CAP ASSY, WINDSHIELD WASHER
85310MOTOR AND PUMP ASSY, WINDSHIELD WASHER
85330ABUSH, WINDSHIELD WASHER JAR
85331JAR SUB-ASSY, WINDSHIELD WASHER
85345NOZZLE, WINDSHIELD WASHER
BLACK,177 ,202 ,3H3 ,4K1 ,4K2 ,8E3; BLACK,202 ,3H3 ,4K2 ,8E3; BLACK,202 ,4K2
RED MICA,3H4
GRAY MICA M.,170
BLUE MICA M.,8G2
BEIGE M.M.,4J1
SUPER WHITE,050
RED M.M.,3J9
SUPER SILVER 3 M.,176
BLACK,202 ,4K2
RED MICA,3H4
GRAY MICA M.,170
BLUE MICA M.,8G2
BEIGE M.M.,BEIGE M M,4J1
SUPER WHITE 4,050
RED M.M.,RED M M,3J9
SUPER SILVER 3 M.,176
85348JOINT, WINDSHIELD WASHER HOSE, NO.1
3-WAY
2-WAY
85348EJOINT, WINDSHIELD WASHER ELBOW, NO.2
85349JOINT, WINDSHIELD WASHER HOSE, NO.1
85361HOLDER, WINDSHIELD WASHER
85371HOSE, WINDSHIELD WASHER (FROM MOTOR TO JOINT)
L=1800
85372HOSE, WINDSHIELD WASHER (FROM JOINT TO JOINT), NO.1
L=1450
85373HOSE, WINDSHIELD WASHER (FROM JOINT TO NOZZLE)
L=1450
9046400200
main90464-00200
9098901037
main90989-01037
9165540616
main91655-40616
15 parts on this diagram · 2 diagrams in section