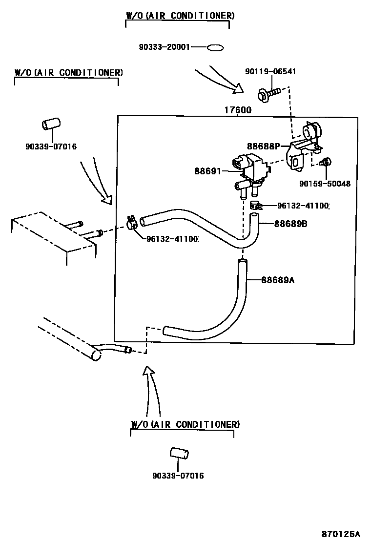
HEATING & AIR CONDITIONING - VACUUM PIPING

17600VALVE ASSY, AIR BY-PASS W/HOSE
88688PBRACKET (FOR MAGNET VALVE)
88689AHOSE, COOLER VACUUM NO.1
NO.2
NO.1
L=270
88689BHOSE, COOLER VACUUM NO.2
L=960
88691VALVE, MAGNET (FOR IDLE UP DEVICE)
9011906541
main90119-06541
9015950048
main90159-50048
9033320001
main90333-20001
9033907016
main90339-07016
9613241100
main96132-41100
10 parts on this diagram · 3 diagrams in section