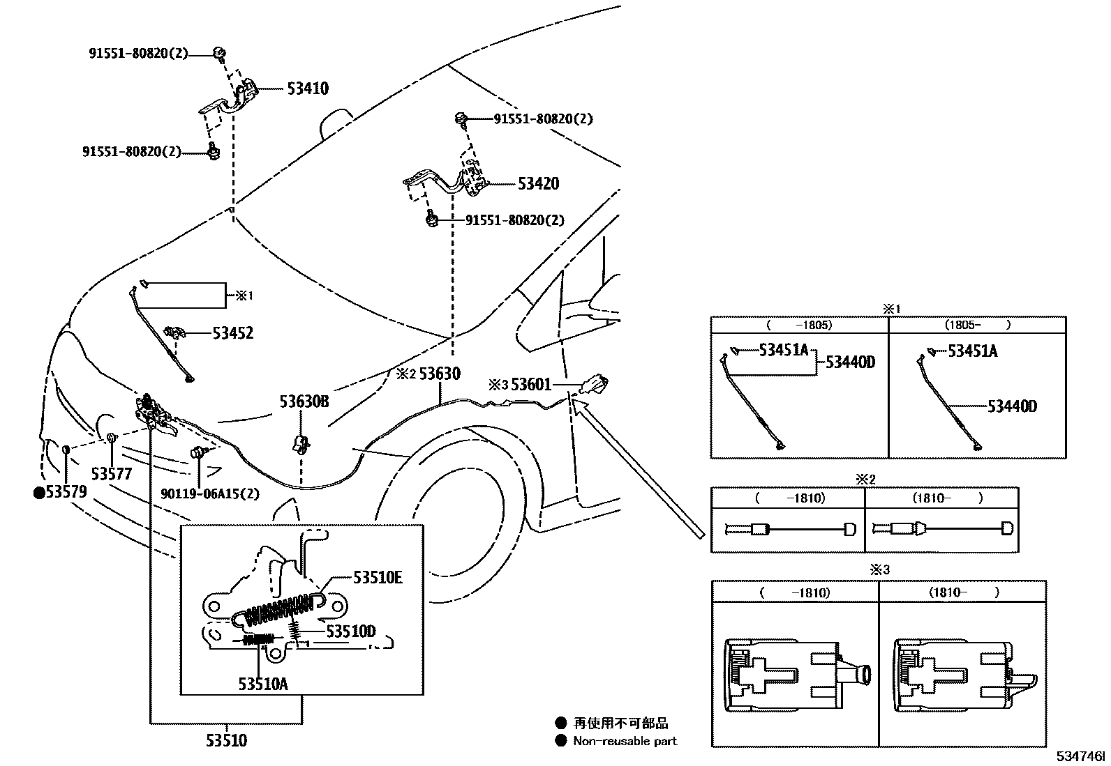
HOOD LOCK & HINGE

53410HINGE ASSY, HOOD, RH
53420HINGE ASSY, HOOD, LH
53440DSUPPORT ASSY, HOOD
BRAZIL SPEC; INDONESIA SPEC; TAIWAN SPEC
53451AGROMMET(FOR HOOD SUPPORT ROD)
53452HOLDER, HOOD STAY
53510LOCK ASSY, HOOD
53510ASPRING, TENSION(FOR HOOD LOCK)
WD=0.9,CW=21
53510DSPRING, TENSION(FOR HOOD LOCK)
WD=1.2,CW=8.5
53510ESPRING, TENSION(FOR HOOD LOCK)
WD=1.4,CW=12
53577BOLT, HOOD LOCK
53579CAP, HOOD LOCK NUT
53601LEVER SUB-ASSY, HOOD LOCK CONTROL
BLACK,TRIM1#,2#
BLACK,TRIM1#,2#
BLACK,TRIM1#,2#
53630CABLE ASSY, HOOD LOCK CONTROL
53630BCLAMP(FOR HOOD LOCK CONTROL CABLE)
9011906A15
main90119-06A15
9155180820
main91551-80820
16 parts on this diagram · 2 diagrams in section