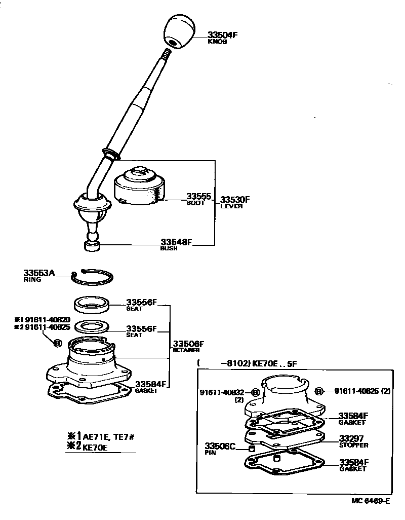
SHIFT LEVER & RETAINER

33297STOPPER, SHIFT LEVER
33504FKNOB SUB-ASSY, SHIFT LEVER
BLACK,BLACK,TRIM0#,2#
BLUE,BLUE,TRIM8#
BEIGE,BEIGE,TRIM4#
DARK BROWN,BROWN,TRIM4#
MAROON,RED/MAROON,TRIM3#
GRAY,GRAY,TRIM1#
BLUE,BLUE,TRIM8#
BROWN,BROWN,TRIM4#; DARK BROWN,BROWN,TRIM4#
BLACK,BLACK,TRIM0#,2#
URETHANE,BLUE,BLUE,TRIM8#
URETHANE,DARK BROWN,BROWN,TRIM4#
URETHANE,LIGHT BROWN,BROWN,TRIM4#
URETHANE,BLACK,BLACK,TRIM0#,2#
URETHANE,BLUE,BLUE,TRIM8#
URETHANE,BEIGE,BEIGE,TRIM4#
BLACK,BLACK,TRIM0#,2#,4#,8#
BLUE,BLUE,TRIM8#
BEIGE,BEIGE,TRIM4#
DARK BROWN,BROWN,TRIM4#
MAROON,RED/MAROON,TRIM3#
GRAY,GRAY,TRIM1#
BLUE,BLUE,TRIM8#
BROWN,BROWN,TRIM4#
STRG WHEEL=URETHANE,BLACK,BLACK,TRIM0#,2#
main33504-14060-04iKE70,TE71..(CP,LB)..4F..EUG; KE70..4F..(DX,XL)..GEN;TE71..4F..DX..(GEN,SAA)198108-198112
STRG WHEEL=URETHANE,BLUE,BLUE,TRIM8#
main33504-14060-06iKE70,TE71..(CP,LB)..4F..EUG; KE70..4F..(DX,XL)..GEN;TE71..4F..DX..(GEN,SAA)198108-198305
STRG WHEEL=URETHANE,DARK BROWN,BROWN,TRIM4#
STRG WHEEL=URETHANE,MAROON,RED/MAROON,TRIM3#
STRG WHEEL=URETHANE,GRAY,GRAY,TRIM1#
main33504-14060-14iKE70,TE71..(CP,LB)..4F..EUG; KE70..4F..(DX,XL)..GEN;TE71..4F..DX..(GEN,SAA)198112-198305
STRG WHEEL=URETHANE,BLUE,BLUE,TRIM8#
STRG WHEEL=URETHANE,BROWN,BROWN,TRIM4#
BLACK,BLACK,TRIM0#,2#
STRG WHEEL=URETHANE,BLUE,BLUE,TRIM8#
DARK BROWN,BROWN,TRIM4#
BLUE,BLUE,TRIM8#; STRG WHEEL=URETHANE,BLUE,BLUE,TRIM8#
STRG WHEEL=URETHANE,MAROON,RED/MAROON,TRIM3#
STRG WHEEL=URETHANE,GRAY,GRAY,TRIM1#
STRG WHEEL=URETHANE,BROWN,BROWN,TRIM4#
BLACK,BLACK,TRIM0#,2#,4#,8#
BROWN,BROWN,TRIM4#
GRAY,GRAY,TRIM1#
BLACK,BLACK,TRIM0#,2#
33506CPIN, SHIFT LEVER RETAINER RING
33506FRETAINER SUB-ASSY, CONTROL SHIFT LEVER (FOR FLOOR SHIFT)
main33570-14021iKE70..CP..5F;AE71,TE7#..MTM;KE70..CP..LHD..4F;KE70..(DV,LB,SED,WG)..MTM197908-198707
33530FLEVER ASSY, SHIFT (FOR FLOOR SHIFT)
main33530-12231iTE71..RHD..MTM;KE70..CP..RHD..5F;AE71,KE70,TE72..(DV,LB,SED,WG)..RHD..MTM197908-198707
33548FBUSH, NO.1, SHIFT LEVER (FOR FLOOR SHIFT)
main33548-14010iKE70..CP..5F;AE71,TE7#..MTM;KE70..CP..LHD..4F;KE70..(DV,LB,SED,WG)..MTM197908-198707
33553ARING, SNAP (FOR SHIFT LEVER SPRING SHEET)
main90521-49003iKE70..CP..5F;AE71,TE7#..MTM;KE70..CP..LHD..4F;KE70..(DV,LB,SED,WG)..MTM197908-198707
33555BOOT, SHIFT LEVER
main33555-12090iKE70..CP..5F;AE71,TE7#..MTM;KE70..CP..LHD..4F;KE70..(DV,LB,SED,WG)..MTM197908-198707
33556FSEAT, TRANSMISSION SHIFT LEVER BALL
main33556-14010iKE70..CP..5F;AE71,TE7#..MTM;KE70..CP..LHD..4F;KE70..(DV,LB,SED,WG)..MTM197908-198707
T=13.5
main33556-14020iKE70..CP..5F;AE71,TE7#..MTM;KE70..CP..LHD..4F;KE70..(DV,LB,SED,WG)..MTM197908-198707
T=3.0
33584FGASKET, CONTROL SHIFT LEVER RETAINER (FOR FLOOR SHIFT)
T=0.5,LWR
main33584-20010iKE70..CP..5F;AE71,TE7#..MTM;KE70..CP..LHD..4F;KE70..(DV,LB,SED,WG)..MTM197908-198707
T=0.3
9161140820
main91611-40820
9161140825
main91611-40825
9161140832
main91611-40832
13 parts on this diagram · 8 diagrams in section