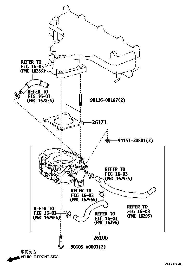
VENTURI

1603RADIATOR & WATER OUTLET
26100VENTURI ASSY
(L)
(J)
26171GASKET, VENTURI
90105W0001
main90105-W0001
9011608167
main90116-08167
9415120801
main94151-20801
6 parts on this diagram · 4 diagrams in section

6 parts on this diagram · 4 diagrams in section