E
EPC Data

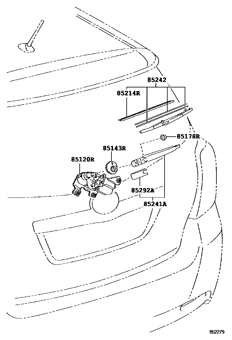
REAR WIPER

Parts diagram
85120RMOTOR AND BRACKET ASSY, REAR WIPER
main85130-0F030i200902-201007
85143RGROMMET, REAR WIPER MOTOR
main85143-05060i200902-201007
85178RNUT (FOR REAR WIPER ARM SETTING)
main90179-06158i200902-201007
85214RRUBBER, REAR WIPER
main85214-05110i200902-201007
85241AARM, REAR WIPER
main85241-05090i200902-201007
85242BLADE, RR WIPER
main85242-02040i200902-201007
85292ACAP, REAR WIPER ARM HEAD
main85292-02050i200902-201007

7 parts on this diagram · 1 diagram in section

REAR WIPER — Toyota Parts Diagram with OEM Numbers & Prices | EPC Data