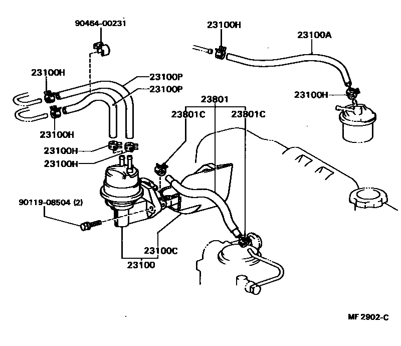
FUEL PUMP & PIPE

23100PUMP ASSY, FUEL
SWEDEN SPEC
23100AHOSE, FUEL
*H,L=150
*H,L=240
*H,L=140
*H,L=240
23100CINSULATOR, FUEL PUMP
23100HCLIP(FOR FUEL HOSE)
RETURN
MAIN
23100PHOSE(FOR FUEL PUMP TO FUEL TUBE)
*H,L=220,RETURN; *H,L=220,RETURN,SWEDEN SPEC; *H,L=260,RETURN
*H,L=360,RETURN
*H,L=260,MAIN; *H,L=280,MAIN
*H,L=360,MAIN
*H,L=220,RETURN; *H,L=220,RETURN,SWEDEN SPEC; *H,L=260,RETURN
*H,L=360,RETURN
*H,L=260,MAIN; *H,L=280,MAIN
MAIN
*H,L=360,MAIN
23801PIPE OR HOSE SUB-ASSY, CARBURETOR FUEL, NO.1
23801CCLIP(FOR CARBURETOR FUEL HOSE)
9011908504
main90119-08504
9046400231
main90464-00231
9 parts on this diagram · 1 diagram in section