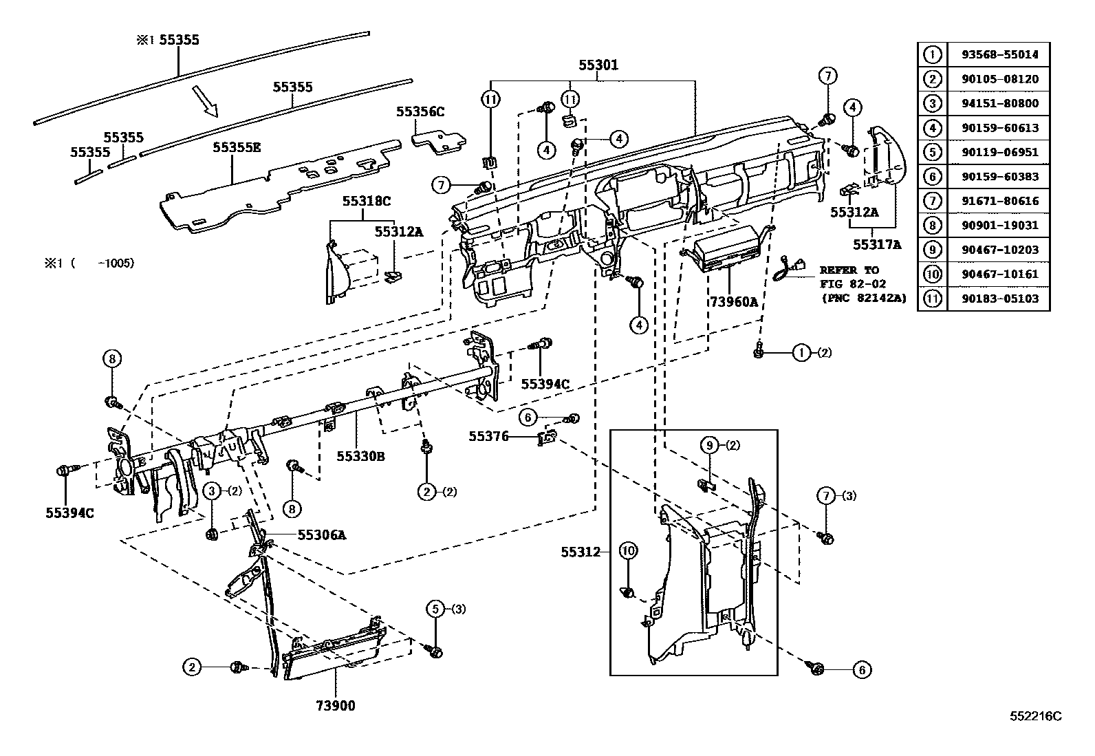
INSTRUMENT PANEL & GLOVE COMPARTMENT

55301PANEL SUB-ASSY, INSTRUMENT
BLACK,TRIM1#,43,44,53,54,57,58,7#; BLACK,TRIM1#,43,44,53,54,57,58,7#,9#
PLUM,TRIM4#,5#
BLACK,TRIM1#,7#,9#
BLACK,TRIM1#,7#,9#
PLUM,TRIM4#,5#
55306ABRACE SUB-ASSY, INSTRUMENT PANEL, NO.1
55312PANEL, INSTRUMENT, LOWER
LT.GRAY,TRIM1#,7#
BLACK,TRIM9#
PLUM,TRIM10,12,13,4#,5#
LT.GRAY,TRIM14,15,7#; LT.GRAY,TRIM15,7#
BLACK,TRIM9#
PLUM,TRIM10,12,13,4#,5#
55312ACLIP, INSTRUMENT PANEL
55317APANEL, INSTRUMENT SIDE, RH
BLACK,TRIM1#,4#,5#,7#,9#
BLACK,TRIM1#,4#,5#,7#,9#
55318CPANEL, INSTRUMENT SIDE, LH
BLACK,TRIM1#,4#,5#,7#,9#
BLACK,TRIM1#,4#,5#,7#
55330BREINFORCEMENT ASSY, INSTRUMENT PANEL
55355CUSHION, INSTRUMENT PANEL, NO.1
L=1017
L=100
55355ECUSHION, INSTRUMENT PANEL
55356CCUSHION, INSTRUMENT PANEL, NO.2
55376BRACKET, INSTRUMENT PANEL MOUNTING, NO.1
55394CBOLT, INSTRUMENT PANEL
73900AIRBAG ASSY, INSTRUMENT PANEL, LOWER NO.1
LT.GRAY,TRIM14,15,16,7#; LT.GRAY,TRIM15,16,7#
BLACK,TRIM10,12,13,4#,5#,9#; BLACK,TRIM9#
PLUM,TRIM1#,4#,5#
LT.GRAY,TRIM14,15,16,7#; LT.GRAY,TRIM15,16,7#
BLACK,TRIM10,12,13,43,44,53,54,57,58,9#
PLUM,TRIM1#,4#,5#
73960AAIRBAG ASSY, INSTRUMENT PANEL PASSENGER W/O DOOR
8202WIRING & CLAMP
9010508120
main90105-08120
9011906951
main90119-06951
9015960383
main90159-60383
9015960613
main90159-60613
9018305103
main90183-05103
9046710161
main90467-10161
9046710203
main90467-10203
9090119031
main90901-19031
9167180616
main91671-80616
9356855014
main93568-55014
9415180800
main94151-80800
26 parts on this diagram · 8 diagrams in section