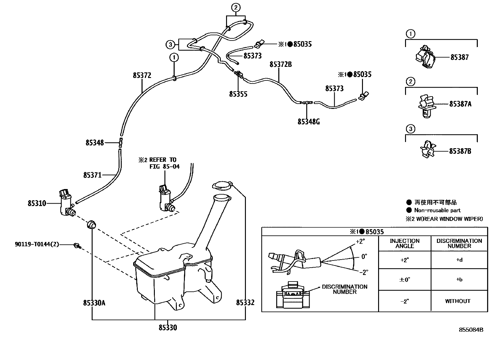
Toyota VIOS/YARIS — WINDSHIELD WASHER

85035NOZZLE SUB-ASSY, WASHER
ANGLE +2
8504
85310MOTOR AND PUMP ASSY, WINDSHIELD WASHER
85330ABUSH, WINDSHIELD WASHER JAR
85348JOINT, WINDSHIELD WASHER HOSE, NO.1
85348GJOINT, WINDSHIELD WASHER HOSE, NO.2
85355VALVE, WINDSHIELD WASHER HOSE
85371HOSE, WINDSHIELD WASHER (FROM MOTOR TO JOINT)
L=230
85372HOSE, WINDSHIELD WASHER (FROM JOINT TO JOINT), NO.1
L=1620
L=1620
85372BHOSE, WINDSHIELD WASHER (FROM JOINT TO JOINT), NO.2
L=300
L=1800(*H,L=300)
85373HOSE, WINDSHIELD WASHER (FROM JOINT TO NOZZLE)
L=180
L=40
L=1000(*H,L=180)
85387CLAMP NO.1 (FOR WINDSEIELD WASHER)
85387ACLAMP, WASHER, NO.2
85387BCLAMP, WASHER, NO.3
90119T0144
17 parts on this diagram · 3 diagrams in section