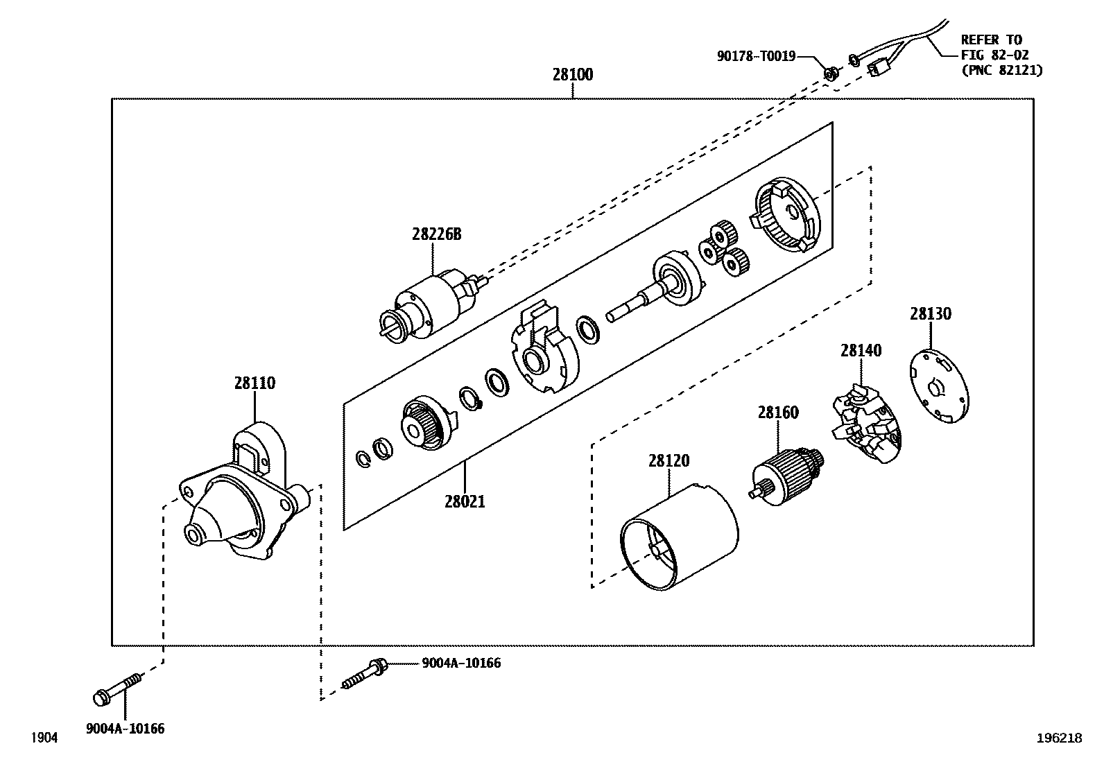
Toyota VIOS/YARIS/YARISATIV — STARTER

28021CLUTCH SUB-ASSY, STARTER CENTER BEARING
28100STARTER ASSY
12V 0.9KW
12V 1.0KW
28110HOUSING ASSY, STARTER DRIVE
28120YOKE ASSY, STARTER
28130FRAME ASSY, STARTER COMMUTATOR END
28140HOLDER ASSY, STARTER BRUSH
28160ARMATURE ASSY, STARTER
28226BSTARTER KIT, REPAIR SERVICE
8202
9004A10166
main9004A-10166
90178T0019
main90178-T0019
11 parts on this diagram · 2 diagrams in section