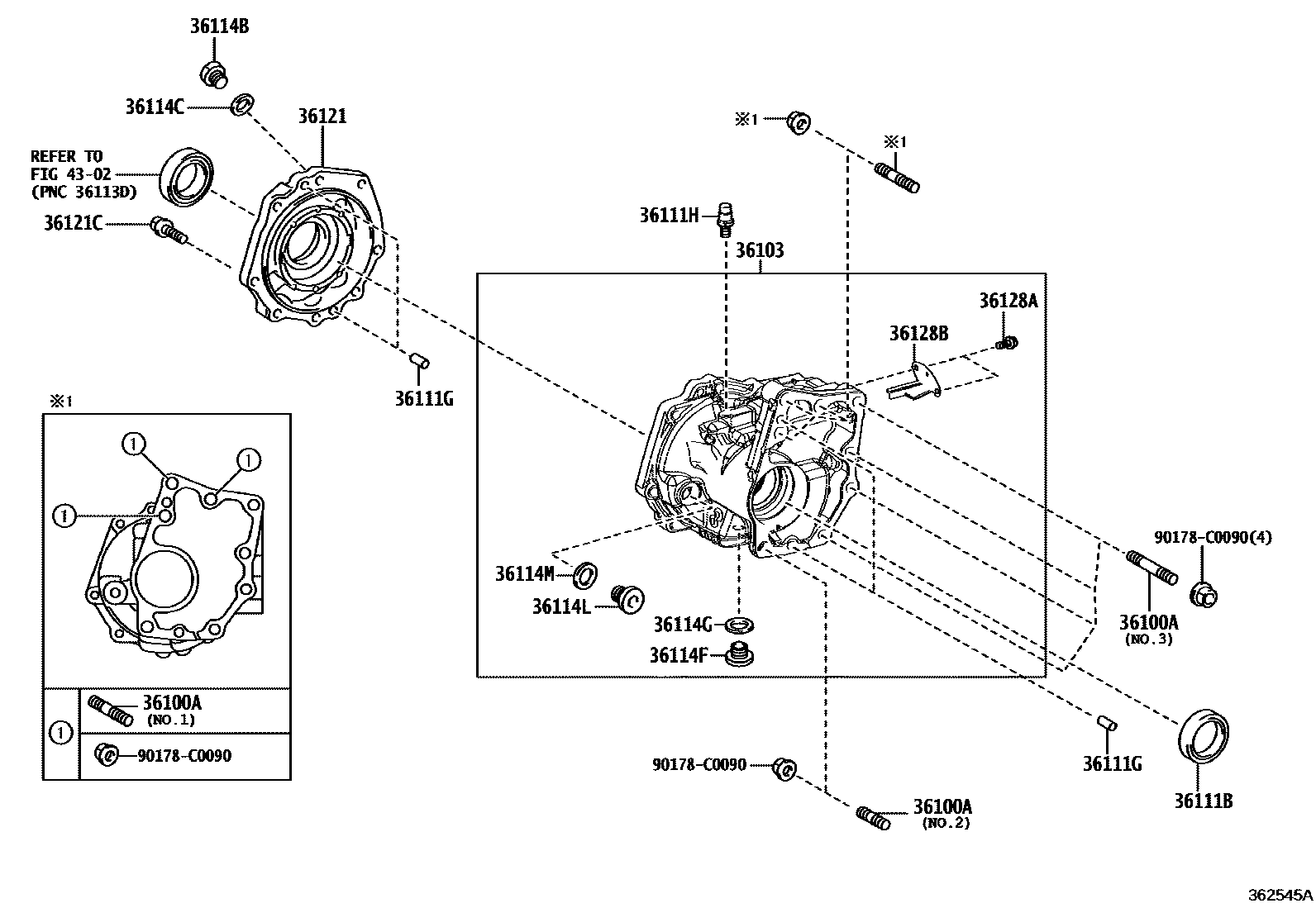
Toyota VENZA — TRANSFER CASE & EXTENSION HOUSING

36100ABOLT, STUD (FOR TRANSFER & TRANSAXLE SETTING)
S=30 & 22,L=64,NO.3:REFER ILLUST.
S=22 & 22,L=73,NO.1:REFER ILLUST.
S=22 & 22,L=53,NO.2:REFER ILLUST.
36103CASE SUB-ASSY, TRANSFER
36111BSEAL, OIL (FOR TRANSFER CASE)
36111GPIN, STRAIGHT (FOR TRANSFER CASE)
L=20,OD=10
36111HPLUG, BREATHER (FOR TRANSFER CASE)
36114BPLUG, NO.1 (FOR TRANSFER CASE)
36114CGASKET, NO.1 (FOR TRANSFER CASE)
36114FPLUG (FOR TRANSFER DRAIN)
36114GGASKET (FOR TRANSFER DRAIN PLUG)
36114LPLUG, FILLER(FOR TRANSFER)
36114MGASKET (FOR TRANSFER FILLER PLUG)
36121COVER, TRANSFER CASE, NO.1
36121CBOLT, WASHER BASED HEAD HEXAGON (FOR TRANSFER CASE COVER)
36128ABOLT (FOR BREATHER OIL DEFLECTOR)
36128BDEFLECTOR, BREATHER OIL
4302
90178C0090
main90178-C0090
17 parts on this diagram · 1 diagram in section