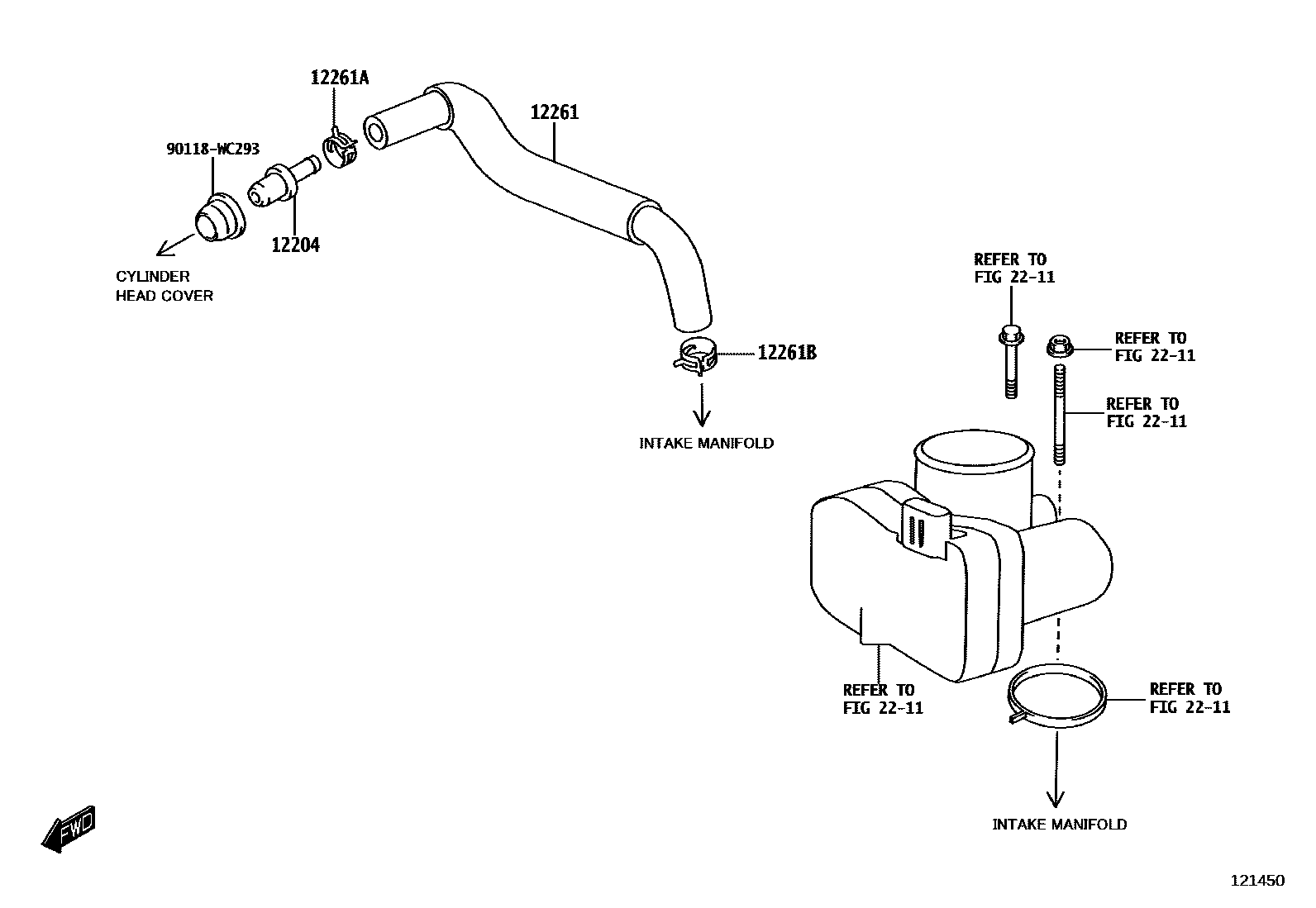
Toyota URBAN CRUISER — VENTILATION HOSE

12204VALVE SUB-ASSY, VENTILATION
main12204-WC001
12261ACLIP OR CLAMP(FOR VENTILATION HOSE)
12261BCLIP OR CLAMP(FOR VENTILATION HOSE)
2211
90118WC293
main90118-WC293
6 parts on this diagram · 2 diagrams in section