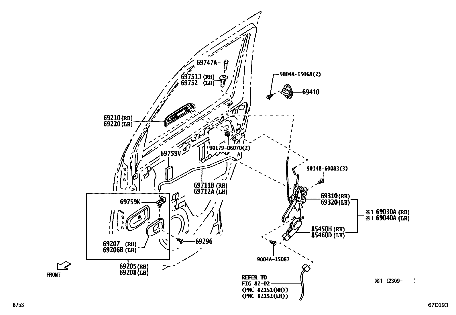
Toyota TOWNACE — FRONT DOOR LOCK & HANDLE

69030ALOCK ASSY, FRONT DOOR W/MOTOR, RH
69040ALOCK ASSY, FRONT DOOR W/MOTOR, LH
69205HANDLE SUB-ASSY, FRONT DOOR INSIDE, RH
69206BHANDLE SUB-ASSY, FRONT DOOR INSIDE, LH
BLACK,TRIM1#
69207HANDLE SUB-ASSY, FRONT DOOR INSIDE, RH
BLACK,TRIM1#
69208HANDLE SUB-ASSY, FRONT DOOR INSIDE, LH
69210HANDLE ASSY, FRONT DOOR, OUTSIDE RH
NO PAINT REQ.
69220HANDLE ASSY, FRONT DOOR OUTSIDE, LH
NO PAINT REQ.
69296SCREW, DOOR INSIDE HANDLE
69310LOCK ASSY, FRONT DOOR, RH
69320LOCK ASSY, FRONT DOOR, LH
69410PLATE ASSY, FRONT DOOR LOCK STRIKER
69711BLINK, FRONT DOOR LOCK REMOTE CONTROL, RH
69712ALINK, FRONT DOOR LOCK REMOTE CONTROL, LH
69747ABUTTON, DOOR LOCKING(FOR FRONT DOOR)
69751JHOLDER, FRONT DOOR LOCK CONTROL KNOB, RH
69752HOLDER, FRONT DOOR LOCK CONTROL KNOB, LH
69759KSNAP, DOOR LOCK CONTROL LINK
69759VSILENCER, FRONT DOOR LOCK LINK
8202
85450HMOTOR ASSY, DOOR CONTROL, FRONT RH
85460DMOTOR ASSY, DOOR CONTROL, FRONT LH
9004A15067
main9004A-15067
9004A15068
main9004A-15068
9014860083
9017906070
26 parts on this diagram · 1 diagram in section