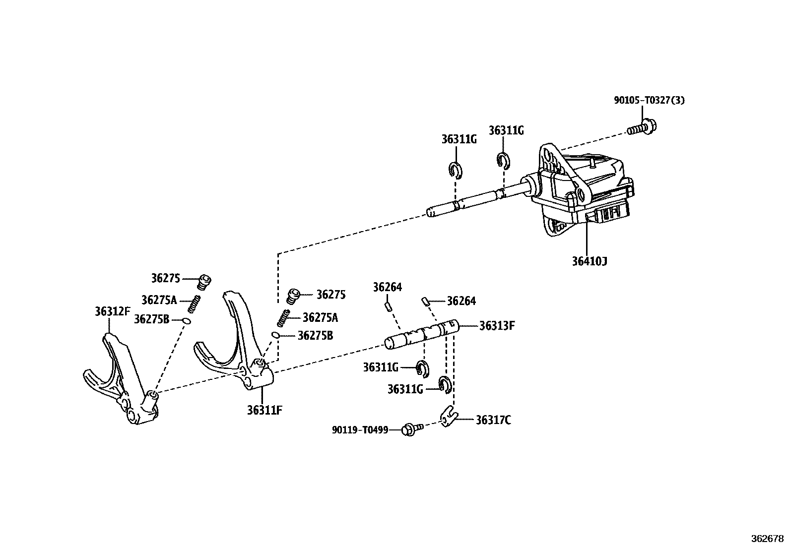
Toyota TACOMA — TRANSFER LEVER & SHIFT ROD

36264PIN OR ROLLER, SHIFT INTER-LOCK
L=8.6,OD=6
36275PLUG, SHIFT DETENT BALL SPRING
36275ASPRING, COMPRESSION (FOR SHIFT DETENT BALL)
L=20.8
36275BBALL, SHIFT DETENT
OD=9.53,STEEL
36311FFORK, TRANSFER GEAR SHIFT, NO.1
36311GRING, SHAFT SNAP (FOR TRANSFER GEAR SHIFT FORK)
TRAILHUNTER PACKAGE
36312FFORK, TRANSFER GEAR SHIFT, NO.2
TRAILHUNTER PACKAGE
36313FSHAFT, TRANSFER FRONT DRIVE SHIFT FORK
36317CSTOPPER, TRANSFER SHIFT SHAFT
36410JACTUATOR ASSY, TRANSFER SHIFT
TRAILHUNTER PACKAGE
90105T0327
main90105-T0327
90119T0499
12 parts on this diagram · 2 diagrams in section