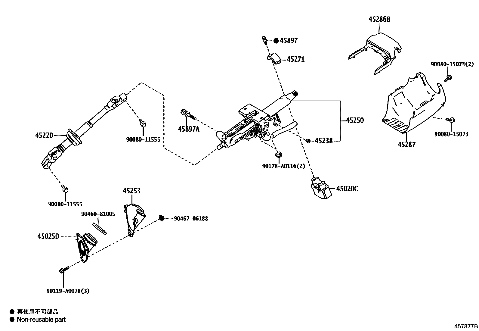
Toyota SIENNA — STEERING COLUMN & SHAFT

45020CACTUATOR ASSY, STEERING LOCK(W/ECU)
45025DCOVER SUB-ASSY, STEERING COLUMN HOLE, NO.1
45220SHAFT ASSY, STEERING INTERMEDIATE
45238CLAMP, BOLT(FOR STEERING FLEXIBLE COUPLING)
45250COLUMN ASSY, STEERING
45271CLAMP, STEERING COLUMN, UPPER
45286BCOVER, STEERING COLUMN, UPR
BLACK,TRIM1#
BLACK
BLACK,TRIM1#,4#
45287COVER, STEERING COLUMN, LWR
BLACK
BLACK,TRIM1#
BLACK,TRIM1#,4#
BLACK,TRIM1#,4#
BLACK
45897BOLT, STEERING LOCK SET
45897ABOLT, TILT STEERING PAWL SET
TYPE A:REFER ILLUST.
(J),TYPE B:REF ILL.
(L),TYPE B:REF ILL.
9008011555
main90080-11555
9008015073
main90080-15073
90119A0078
90178A0116
main90178-A0116
9046081005
9046706188
17 parts on this diagram · 7 diagrams in section