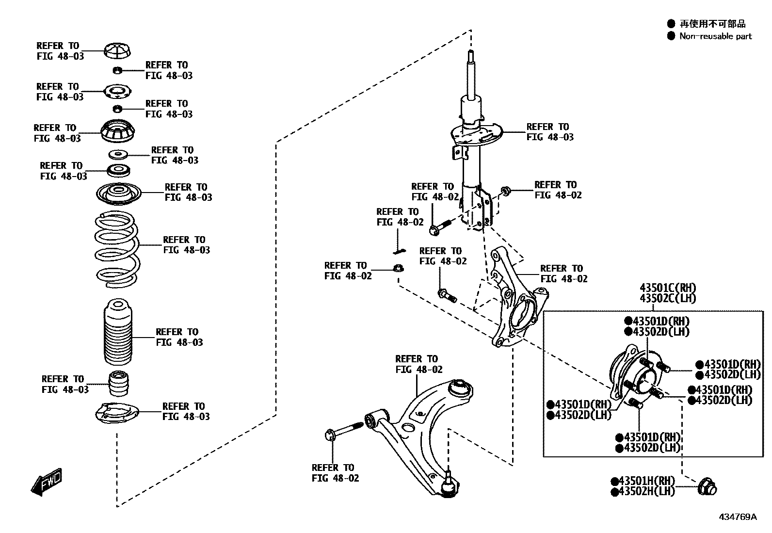
Toyota RUMION — FRONT AXLE HUB

43501CHUB SUB-ASSY, FRONT AXLE, RH
43501DBOLT, HUB (FOR FRONT AXLE RH)
43501HNUT (FOR FRONT AXLE SHAFT RH)
43502CHUB SUB-ASSY, FRONT AXLE, LH
43502DBOLT, HUB (FOR FRONT AXLE LH)
43502HNUT (FOR FRONT AXLE SHAFT LH)
4802
4803
8 parts on this diagram · 2 diagrams in section